Запчасти Komatsu PC150-3 РЫЧАГ УПРАВЛ-Я ХОДОМ И ПЕДАЛЬ (ДЛЯ WRIST УПРАВЛ-Е)(№-8) ПОВОРОТН. И СИСТЕМА УПРАВЛЕНИЯ

Схема запчастей Komatsu PC150-3 - РЫЧАГ УПРАВЛ-Я ХОДОМ И ПЕДАЛЬ (ДЛЯ WRIST УПРАВЛ-Е)(№-8) ПОВОРОТН. И СИСТЕМА УПРАВЛЕНИЯ
FIT
1:1
100%

Артикул

Название

Примечание

Количество

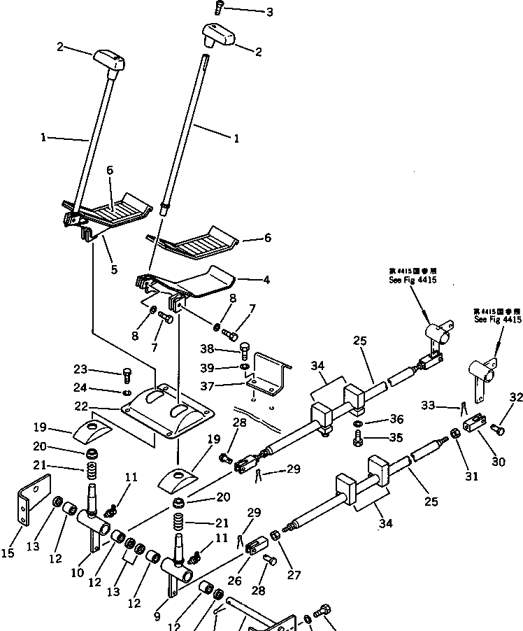
1

205-43-71871

LEVER

2

203-43-41340

KNOB

3

01220-40625

SCREW

4

203-43-41612

PEDAL,L.H.

5

203-43-41592

PEDAL,R.H.

6

205-43-71911

CAP,PEDAL

7

01010-50825

BOLT

8

01643-30823

WASHER

9

203-43-42373

LEVER,L.H.

10

203-43-42671

LEVER,R.H.

11

07020-00900

FITTING,GREASE

12

06120-02016

BEARING

13

06122-02004

SEAL,BEARING

14

203-43-42721

SHAFT

15

203-43-42731

BRACKET

16

01010-51030

BOLT

17

01643-31032

WASHER

18

04050-13030

PIN,COTTER

19

205-43-11230

COVER

20

203-43-41660

SPACER

21

09340-10130

SPRING

22

203-43-41541

COVER

23

01010-50820

BOLT

24

01602-20825

WASHER,SPRING

25

21K-43-21150

ROD

26

04220-21040

YOKE,L.H. THREAD

27

01508-21006

NUT,L.H. THREAD

28

04205-11028

PIN

29

04050-13015

PIN,COTTER

30

04210-21040

YOKE

31

01582-11008

NUT

32

04205-11028

PIN

33

04050-13015

PIN,COTTER

34

203-43-42750

PLATE

35

01010-51030

BOLT

36

01643-31032

WASHER

37

203-43-42572

BRACKET

38

01010-51030

BOLT

39

01602-21030

WASHER,SPRING

Выбрано товаров: 39