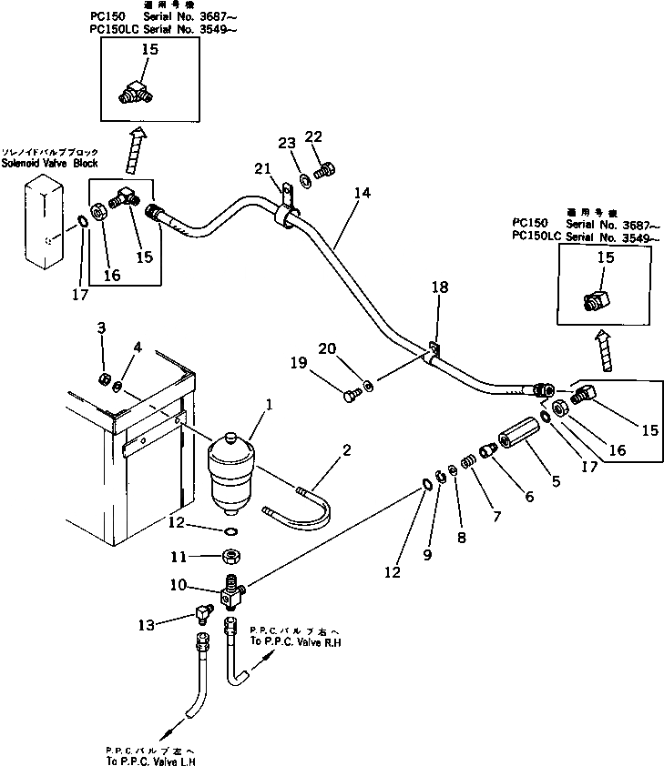
Запчасти Komatsu PC150-3 ГИДРОЛИНИЯ (КЛАПАН - АККУМУЛЯТОР) (ДЛЯ WRIST УПРАВЛ-Е) ПОВОРОТН. И СИСТЕМА УПРАВЛЕНИЯ

Схема запчастей Komatsu PC150-3 - ГИДРОЛИНИЯ (КЛАПАН - АККУМУЛЯТОР) (ДЛЯ WRIST УПРАВЛ-Е) ПОВОРОТН. И СИСТЕМА УПРАВЛЕНИЯ
FIT
1:1
100%

Артикул

Название

Примечание

Количество

1

205-60-71150

ACCUMULATOR

2

07283-28973

CLIP

3

01599-01214

NUT

4

01643-31232

WASHER

|5

205-60-64300

CHECK VALVE ASS'Y

5

205-60-64290

BODY

6

205-60-51390

POPPET

7

205-60-51410

SPRING

8

205-60-51420

SEAT

9

04065-01410

RING,SNAP

10

203-62-44411

TEE

11

07239-12009

NUT

12

07002-02034

O-RING

13

234-60-22140

ELBOW

14

07102-20315

HOSE

15

07235-10315

ELBOW

|15

07232-20315

ELBOW

16

07239-12009

NUT

17

07002-02034

O-RING

18

08036-01814

CLIP

19

01010-50820

BOLT

20

01643-30823

WASHER

21

21K-62-21660

CLIP

22

01010-51225

BOLT

23

01643-31232

WASHER

Выбрано товаров: 25