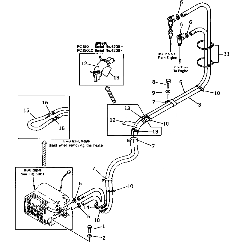
Запчасти Komatsu PC150-3 ОБОГРЕВАТЕЛЬ. ТРУБЫ (ДЛЯ WRIST УПРАВЛ-Е) ОСНОВНАЯ РАМА И КАБИНА

Схема запчастей Komatsu PC150-3 - ОБОГРЕВАТЕЛЬ. ТРУБЫ (ДЛЯ WRIST УПРАВЛ-Е) ОСНОВНАЯ РАМА И КАБИНА
FIT
1:1
100%

Артикул

Название

Примечание

Количество

1

01010-51025

BOLT

2

01643-31032

WASHER

3

09483-00434

HOSE

4

09483-00432

HOSE

5

203-977-4130

VALVE

6

07281-00259

CLAMP

7

176-911-4170

CLIP

8

01010-51020

BOLT

9

01643-31032

WASHER

10

08034-00519

BAND

11

08034-00536

BAND

12

203-62-41150

COVER

|12

203-04-31230

COVER

13

08034-00519

BAND

|13

08034-00519

BAND

14

176-911-4160

GROMMET

15

09483-10405

HOSE

16

09484-00450

CONNECTOR

Выбрано товаров: 18