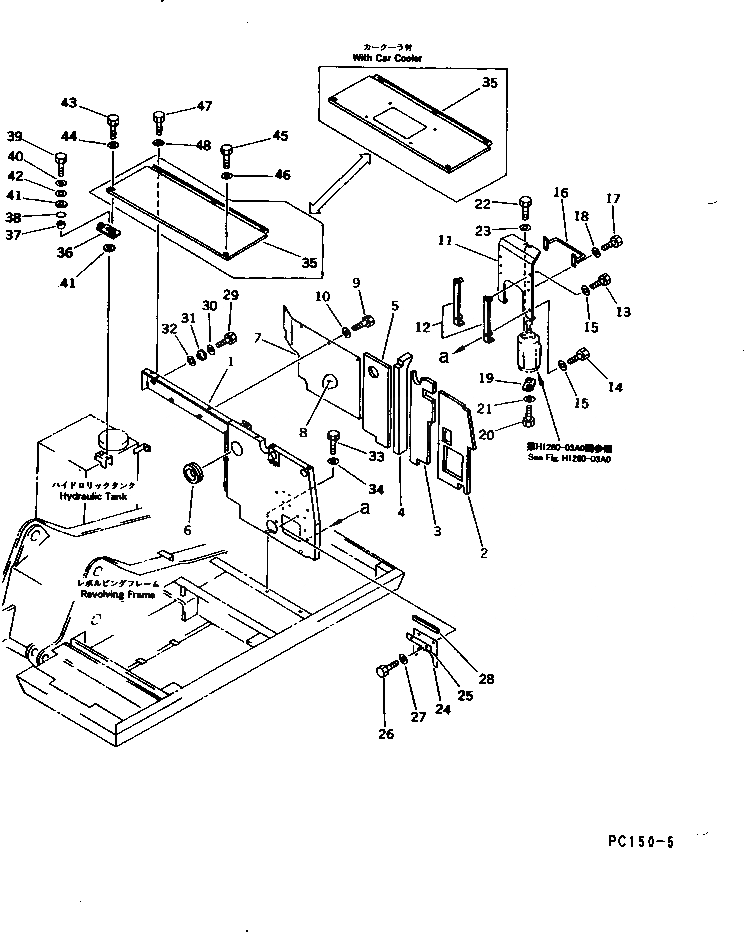
Запчасти Komatsu PC150-5 ЗАДН. КРЫШКА (MULTIPLE PATTERN) (ДЛЯ УДЛИНН. РЫЧАГ УПРАВЛ-Е)(№-8) ЧАСТИ КОРПУСА

Схема запчастей Komatsu PC150-5 - ЗАДН. КРЫШКА (MULTIPLE PATTERN) (ДЛЯ УДЛИНН. РЫЧАГ УПРАВЛ-Е)(№-8) ЧАСТИ КОРПУСА
FIT
1:1
100%

Артикул

Название

Примечание

Количество

|1

21K-916-3130

COVER ASS'Y

1

COVER

2

21K-916-3150

SHEET

3

21K-916-3160

SHEET

4

21K-54-33580

SHEET

5

21K-54-33490

SHEET

6

20D-54-41470

TRIM

|7

21K-54-33510

COVER ASS'Y

7

COVER

8

21K-54-33520

SHEET

9

01010-81020

BOLT

|9

01010-51020

BOLT

10

01643-31032

WASHER

11

203-916-5610

BRACKET

12

21K-916-3180

BRACKET

13

01010-81060

BOLT

|13

01010-51060

BOLT

14

01010-81025

BOLT

|14

01010-51025

BOLT

15

01643-31032

WASHER

16

203-916-5620

BRACKET

17

01010-81025

BOLT

|17

01010-51025

BOLT

18

01643-31032

WASHER

19

203-916-5650

BRACKET

20

01010-81040

BOLT

|20

01010-51040

BOLT

21

01643-31032

WASHER

22

01010-81030

BOLT

|22

01010-51030

BOLT

23

01643-31032

WASHER

24

21K-916-3210

SHEET

25

21K-916-3170

PLATE

26

01010-81020

BOLT

|26

01010-51020

BOLT

27

01643-31032

WASHER

28

09412-10002

SEAL

29

01010-81035

BOLT

|29

01010-51035

BOLT

30

01643-31032

WASHER

31

203-54-56920

COLLAR

32

113-54-31350

SEAT

33

01010-81025

BOLT

|33

01010-51025

BOLT

34

01643-31032

WASHER

35

21K-54-33321

COVER

|35

21K-978-3180

COVER,(WITH CAR COOLER)

36

203-54-56850

BRACKET

37

20X-62-21550

SPACER

38

07000-03025

O-RING

39

01010-81250

BOLT

|39

01010-51250

BOLT

40

01643-31232

WASHER

41

203-62-42770

CUSHION

42

566-35-42430

PLATE

43

01016-51040

BOLT

44

01643-31032

WASHER

45

01010-81050

BOLT

|45

01010-51050

BOLT

46

01643-31032

WASHER

47

01010-81025

BOLT

|47

01010-51025

BOLT

48

01643-31032

WASHER

Выбрано товаров: 63