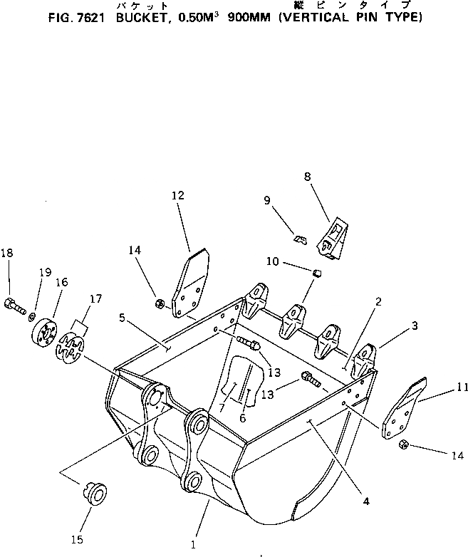
Запчасти Komatsu PC150-5 КОВШ¤ .M ШИР. 9MM (ВЕРТИКАЛЬН. ПАЛЕЦ) РАБОЧЕЕ ОБОРУДОВАНИЕ

Схема запчастей Komatsu PC150-5 - КОВШ¤ .M ШИР. 9MM (ВЕРТИКАЛЬН. ПАЛЕЦ) РАБОЧЕЕ ОБОРУДОВАНИЕ
FIT
1:1
100%

Артикул

Название

Примечание

Количество

|1

21K-926-0030

BUCKET ASS'Y

1

21K-926-3110

BUCKET

2

21K-926-3120

PLATE (WELDED)

3

20Y-70-14180

ADAPTER (WELDED)

4

21K-70-33140

PLATE,L.H. (WELDED)

5

21K-70-33130

PLATE,R.H. (WELDED)

6

21K-70-33150

PLATE (WELDED)

7

21K-926-3130

PLATE (WELDED)

8

205-70-74272

TOOTH

9

205-70-74281

PIN

10

205-70-74291

LOCK

11

21K-70-14180

CUTTER,L.H.

12

21K-70-14190

CUTTER,R.H.

13

208-32-11231

BOLT

14

01803-02228

NUT

15

21K-70-23150

SPACER

16

21K-70-23170

PLATE

17

21K-70-23180

SPACER¤ 0.5MM

|17

21K-70-23230

SPACER¤ 1.0MM

18

01010-81665

BOLT

|18

01010-51665

BOLT

19

01643-31645

WASHER

Выбрано товаров: 22