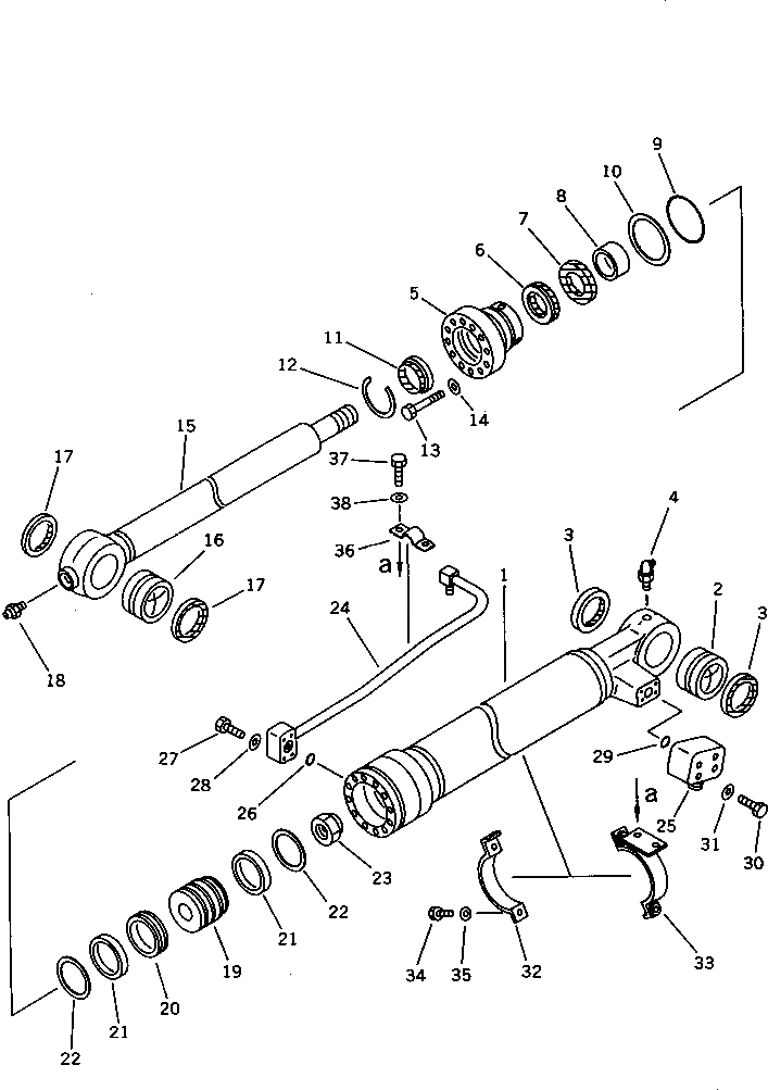
Запчасти Komatsu PC150-5 ЦИЛИНДР КОВША ОСНОВН. КОМПОНЕНТЫ И РЕМКОМПЛЕКТЫ

Схема запчастей Komatsu PC150-5 - ЦИЛИНДР КОВША ОСНОВН. КОМПОНЕНТЫ И РЕМКОМПЛЕКТЫ
FIT
1:1
100%

Артикул

Название

Примечание

Количество

G-1

21K-63-X2130

CYLINDER GROUP

|1

21K-63-02130

CYLINDER ASS'Y,BUCKET

1

21K-63-74140

CYLINDER

2

707-76-70230

BUSHING

3

07145-00070

SEAL,DUST (K3)

4

07020-00900

FITTING,GREASE

5

707-27-10620

HEAD,CYLINDER

6

707-51-70030

PACKING,ROD (K3)

7

707-51-70630

RING,BUFFER (K3)

8

707-52-90450

BUSHING

9

07000-15095

O-RING (K3)

10

07001-05095

RING,BACK-UP (K3)

11

144-63-95170

SEAL,DUST (K3)

12

07179-12084

RING,SNAP

13

01010-81465

BOLT

14

705-17-04980

WASHER

15

21K-63-74120

ROD

16

707-76-70370

BUSHING

17

21K-70-12180

SEAL,DUST (K3)

18

07020-00000

FITTING,GREASE

19

707-36-10320

PISTON

20

707-44-10180

RING,PISTON (K3)

21

707-39-10110

RING,WEAR (K3)

22

707-44-10411

RING

23

07165-14850

NUT

24

21K-63-74170

TUBE

25

707-87-12830

ELBOW

26

07000-13025

O-RING (K3)

27

01010-50850

BOLT

28

01643-50823

WASHER

29

07000-13030

O-RING (K3)

30

01010-51080

BOLT

31

01643-51032

WASHER

32

707-88-99010

BAND

33

707-88-99060

BAND

34

01010-51035

BOLT

35

01643-51032

WASHER

36

07282-02288

CLAMP

37

01010-51020

BOLT

38

01643-31032

WASHER

Выбрано товаров: 40