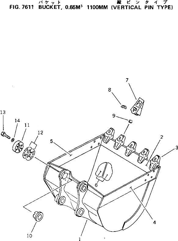
Запчасти Komatsu PC150-5 КОВШ¤ .M ШИР. MM (ВЕРТИКАЛЬН. ПАЛЕЦ) РАБОЧЕЕ ОБОРУДОВАНИЕ

Схема запчастей Komatsu PC150-5 - КОВШ¤ .M ШИР. MM (ВЕРТИКАЛЬН. ПАЛЕЦ) РАБОЧЕЕ ОБОРУДОВАНИЕ
FIT
1:1
100%

Артикул

Название

Примечание

Количество

|$1

21K-920-0050

BUCKET ASS'Y

1

21K-920-3110

BUCKET

2

21K-920-3120

PLATE (WELDED)

3

20Y-70-14180

ADAPTER (WELDED)

4

21K-70-33140

PLATE,L.H. (WELDED)

5

21K-70-33130

PLATE,R.H. (WELDED)

6

21K-70-33150

PLATE (WELDED)

7

205-70-74272

TOOTH

8

205-70-74281

PIN

9

205-70-74291

LOCK

10

21K-70-23150

SPACER

11

21K-70-23170

PLATE

12

21K-70-23180

SPACER, 0.5MM

12

21K-70-23230

SPACER, 1.0MM

13

01010-81665

BOLT

13

01010-51665

BOLT

14

01643-31645

WASHER

Выбрано товаров: 17