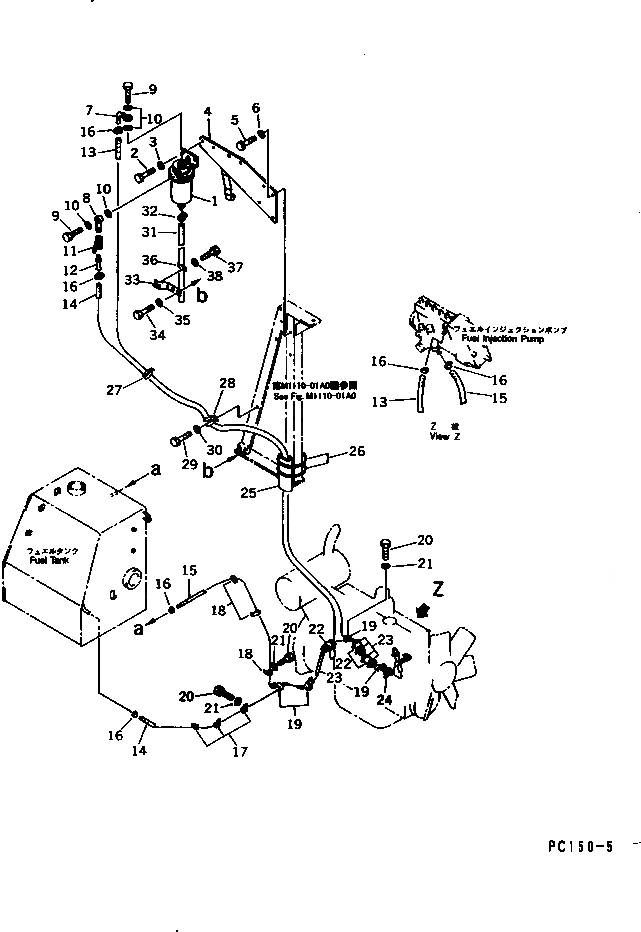
Запчасти Komatsu PC150-5 ТОПЛИВОПРОВОД. (С ВОДН. СЕПАРАТОРОМ) (КРОМЕ ЯПОН.) ТОПЛИВН. БАК. AND КОМПОНЕНТЫ

Схема запчастей Komatsu PC150-5 - ТОПЛИВОПРОВОД. (С ВОДН. СЕПАРАТОРОМ) (КРОМЕ ЯПОН.) ТОПЛИВН. БАК. AND КОМПОНЕНТЫ
FIT
1:1
100%

Артикул

Название

Примечание

Количество

1

600-311-9732

WATER SEPARATOR A.

1

600-311-9731

WATER SEPARATOR A.

2

01010-81035

BOLT

2

01010-51035

BOLT

3

01643-31032

WASHER

4

203-04-56120

BRACKET

5

01010-81030

BOLT

5

01010-51030

BOLT

6

01643-31032

WASHER

7

203-04-56150

JOINT

8

205-04-62140

JOINT

9

07206-31014

BOLT,JOINT

10

07005-01412

GASKET

11

07700-40240

VALVE

12

203-04-31130

NIPPLE

13

07288-01018

HOSE

14

07288-01028

HOSE

15

07288-01031

HOSE

16

07281-00197

CLAMP

17

08036-01814

CLIP

18

08036-02514

CLIP

19

08036-03014

CLIP

20

01010-81020

BOLT

20

01010-51020

BOLT

21

01643-31032

WASHER

22

203-04-31230

COVER

23

08034-00519

BAND

24

08034-00519

BAND

25

203-04-31230

COVER

26

08034-00536

BAND

27

08034-00519

BAND

28

08036-03014

CLIP

29

01010-81020

BOLT

29

01010-51020

BOLT

30

01643-31032

WASHER

31

07270-00875

TUBE

32

07281-00167

CLAMP

33

203-04-56130

PLATE

34

01010-81020

BOLT

34

01010-51020

BOLT

35

01643-31032

WASHER

36

08036-03014

CLIP

37

01010-81020

BOLT

37

01010-51020

BOLT

38

01643-31032

WASHER

Выбрано товаров: 45