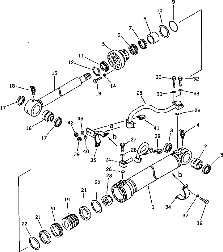
Запчасти Komatsu PC150-5 ЦИЛИНДР СТРЕЛЫ ОСНОВН. КОМПОНЕНТЫ И РЕМКОМПЛЕКТЫ

Схема запчастей Komatsu PC150-5 - ЦИЛИНДР СТРЕЛЫ ОСНОВН. КОМПОНЕНТЫ И РЕМКОМПЛЕКТЫ
FIT
1:1
100%

Артикул

Название

Примечание

Количество

G-1

21K-63-X2100

CYLINDER GROUP,L.H.

G-2

21K-63-X2110

CYLINDER GROUP,R.H.

|$3

21K-63-02100

CYLINDER ASS'Y,BOOM

1

21K-63-54140

CYLINDER

2

707-76-70330

BUSHING

3

07145-00070

SEAL,DUST (K1)

4

07020-00675

FITTING,GREASE

5

707-27-11620

HEAD,CYLINDER

6

707-51-75030

PACKING,ROD (K1)

7

707-51-75630

RING,BUFFER (K1)

8

707-52-90500

BUSHING

9

07000-15105

O-RING (K1)

10

07001-05105

RING,BACK-UP (K1)

11

144-63-94170

SEAL,DUST (K1)

12

07179-13089

RING,SNAP

13

01010-81670

BOLT

14

01643-51645

WASHER

15

21K-63-54120

ROD

16

707-76-70230

BUSHING

17

07145-00070

SEAL,DUST (K1)

18

07020-00675

FITTING,GREASE

19

707-36-11410

PISTON

20

707-44-11180

RING,PISTON (K1)

21

707-39-11110

RING,WEAR (K1)

22

707-44-11911

RING

23

07165-14850

NUT

24

21K-63-54170

TUBE,L.H.

24

21K-63-54270

TUBE,R.H.

25

21K-63-54180

TUBE,L.H.

25

21K-63-54280

TUBE,R.H.

26

07000-13025

O-RING (K1)

27

01010-50850

BOLT

28

01643-50823

WASHER

29

07000-13030

O-RING (K1)

30

07372-21060

BOLT

31

01643-51032

WASHER

32

07372-21045

BOLT

33

01643-51032

WASHER

34

707-88-97750

BAND

35

707-88-95840

BRACKET,L.H.

35

707-88-95850

BRACKET,R.H.

36

01010-51035

BOLT

37

01643-51032

WASHER

38

07283-22236

CLIP

39

01599-01011

NUT

40

01643-31032

WASHER

41

07283-22738

CLIP

42

01599-01011

NUT

43

01643-31032

WASHER

Выбрано товаров: 0