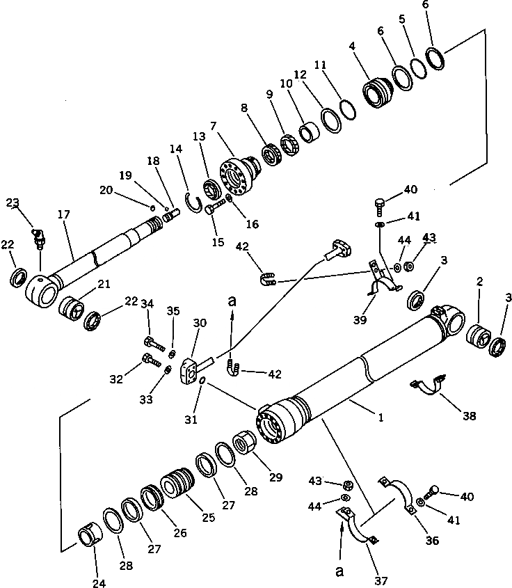
Запчасти Komatsu PC150-5 ЦИЛИНДР РУКОЯТИ ОСНОВН. КОМПОНЕНТЫ И РЕМКОМПЛЕКТЫ

Схема запчастей Komatsu PC150-5 - ЦИЛИНДР РУКОЯТИ ОСНОВН. КОМПОНЕНТЫ И РЕМКОМПЛЕКТЫ
FIT
1:1
100%

Артикул

Название

Примечание

Количество

G-1

21K-63-X2120

CYLINDER GROUP

|$2

21K-63-02120

CYLINDER ASS'Y,ARM

1

21K-63-64140

CYLINDER

2

707-76-80230

BUSHING

3

07145-00080

SEAL,DUST (K2)

4

707-71-32620

COLLAR

5

07000-15115

O-RING (K2)

6

07001-05115

RING,BACK-UP (K2)

7

707-27-12620

HEAD,CYLINDER

8

707-51-85030

PACKING,ROD (K2)

9

707-51-85630

RING,BUFFER (K2)

10

707-52-90600

BUSHING

11

07000-15115

O-RING (K2)

12

07001-05115

RING,BACK-UP (K2)

13

707-56-85510

SEAL,DUST (K2)

14

07179-13099

RING,SNAP

15

01010-81670

BOLT

16

01643-51645

WASHER

17

21K-63-64120

ROD

18

707-71-60200

PLUNGER

19

04260-00635

BALL

20

707-71-91270

CAP

21

707-76-80230

BUSHING

22

07145-00080

SEAL,DUST (K2)

23

07020-00675

FITTING,GREASE

24

707-71-60901

PLUNGER

25

707-36-12411

PISTON

26

707-44-12180

RING,PISTON (K2)

27

707-39-12110

RING,WEAR (K2)

28

707-44-12911

RING

29

07165-15860

NUT

30

21K-63-64170

TUBE

31

07000-13030

O-RING (K2)

32

07372-21045

BOLT

33

01643-51032

WASHER

34

07372-21060

BOLT

35

01643-51032

WASHER

36

707-88-99240

BAND

37

707-88-95861

BRACKET

38

707-88-99250

BAND

39

707-88-95871

BRACKET

40

01010-51035

BOLT

41

01643-31032

WASHER

42

07283-22738

CLIP

43

01599-01011

NUT

44

01643-31032

WASHER

Выбрано товаров: 46