Запчасти Komatsu PC150-6K РАМА (КАБИНА)(№K-) ЧАСТИ КОРПУСА

Схема запчастей Komatsu PC150-6K - РАМА (КАБИНА)(№K-) ЧАСТИ КОРПУСА
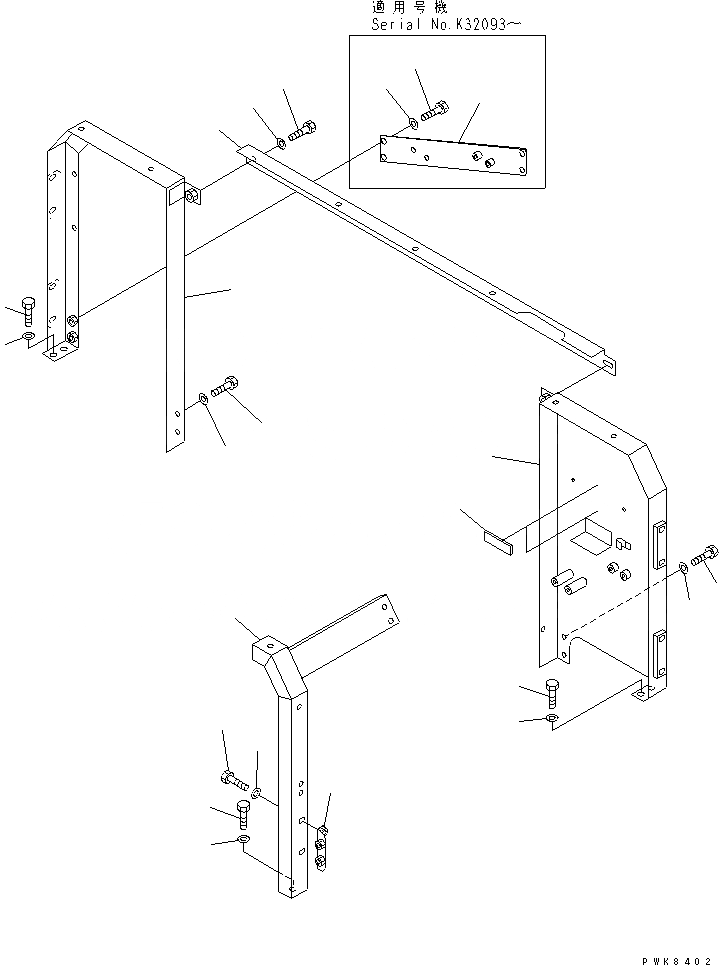
1
2
3
4
5
6
7
8
9
10
11
12
13
14
15
16
17
18
19
20
21
22
23
FIT
1:1
100%

Артикул

Название

Примечание

Количество

1

21P-54-K5470

FRAME

|1

21P-54-K5371

FRAME

2

205-03-71440

SHEET

3

01010-81230

BOLT

4

01643-31232

WASHER

5

01010-81230

BOLT

6

01643-31232

WASHER

7

21P-54-K5414

FRAME

|7

21P-54-K5413

FRAME

|7

21P-54-K5411

FRAME

|7

20G-54-K2330

FRAME

8

01010-81230

BOLT

9

01643-31232

WASHER

10

01010-81230

BOLT

11

01643-31232

WASHER

12

21P-54-K5480

FRAME

|12

20E-54-K5331

FRAME

13

01010-81230

BOLT

14

01643-31232

WASHER

|15

21P-54-K5191

FRAME ASS'Y

|15

21P-54-K5190

FRAME ASS'Y

15

21P-54-K5021

FRAME

16

20Y-54-28170

BRACKET

17

01010-81225

BOLT

|17

01010-81230

BOLT

18

01643-31232

WASHER

19

01010-81230

BOLT

20

01643-31232

WASHER

21

21P-04-K2111

BRACKET

|21

21P-04-K2110

BRACKET

22

01010-81225

BOLT

23

01643-31232

WASHER

Выбрано товаров: 32