Запчасти Komatsu PC150-6K РАСПРЕД. И УРОВНИТЕЛЬН. КЛАПАНА(№K-) ГИДРАВЛИКА

Схема запчастей Komatsu PC150-6K - РАСПРЕД. И УРОВНИТЕЛЬН. КЛАПАНА(№K-) ГИДРАВЛИКА
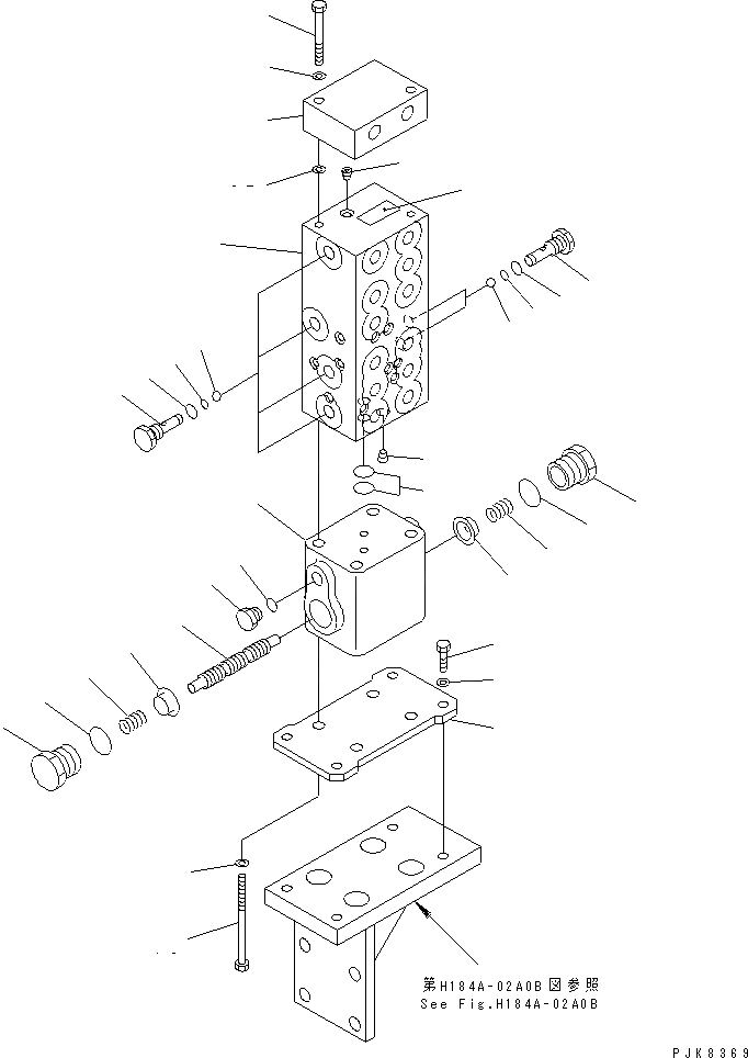
1
2
3
4
4
5
5
6
6
7
7
8
9
10
11
11
12
12
13
13
14
14
15
16
17
18
19
20
21
22
23
24
25
25
FIT
1:1
100%

Артикул

Название

Примечание

Количество

|1

723-90-31100

VALVE ASS'Y,SHUTTLE

1

BODY

2

PLUG

3

07043-70108

PLUG

4

702-19-12120

PLUG

5

07002-11423

O-RING

6

07000-11007

O-RING

7

04260-00952

BALL

8

07000-12020

O-RING

|9

723-90-32000

VALVE SUB ASS'Y

9

BODY

10

SPOOL

11

723-90-33310

SPRING

12

700-22-11291

RETAINER

13

700-84-11320

PLUG

14

07002-13034

O-RING

15

07040-11409

PLUG

16

07002-11423

O-RING

17

723-90-95510

PLATE

18

01011-31025

BOLT

19

01643-31032

WASHER

20

700-11-31980

PLATE¤ NAME

21

01010-81030

BOLT

22

01643-31032

WASHER

23

21P-62-K2190

BLOCK,MANIFOLD

24

01010-80850

BOLT

25

01643-30823

WASHER

Выбрано товаров: 27