Запчасти Komatsu PC150HD-5K ГИДР. НАСОС. (БЛОК СЕРВОКЛАПАНА¤ ЗАДН.) (/) УПРАВЛ-Е РАБОЧИМ ОБОРУДОВАНИЕМ

Схема запчастей Komatsu PC150HD-5K - ГИДР. НАСОС. (БЛОК СЕРВОКЛАПАНА¤ ЗАДН.) (/) УПРАВЛ-Е РАБОЧИМ ОБОРУДОВАНИЕМ
FIT
1:1
100%

Артикул

Название

Примечание

Количество

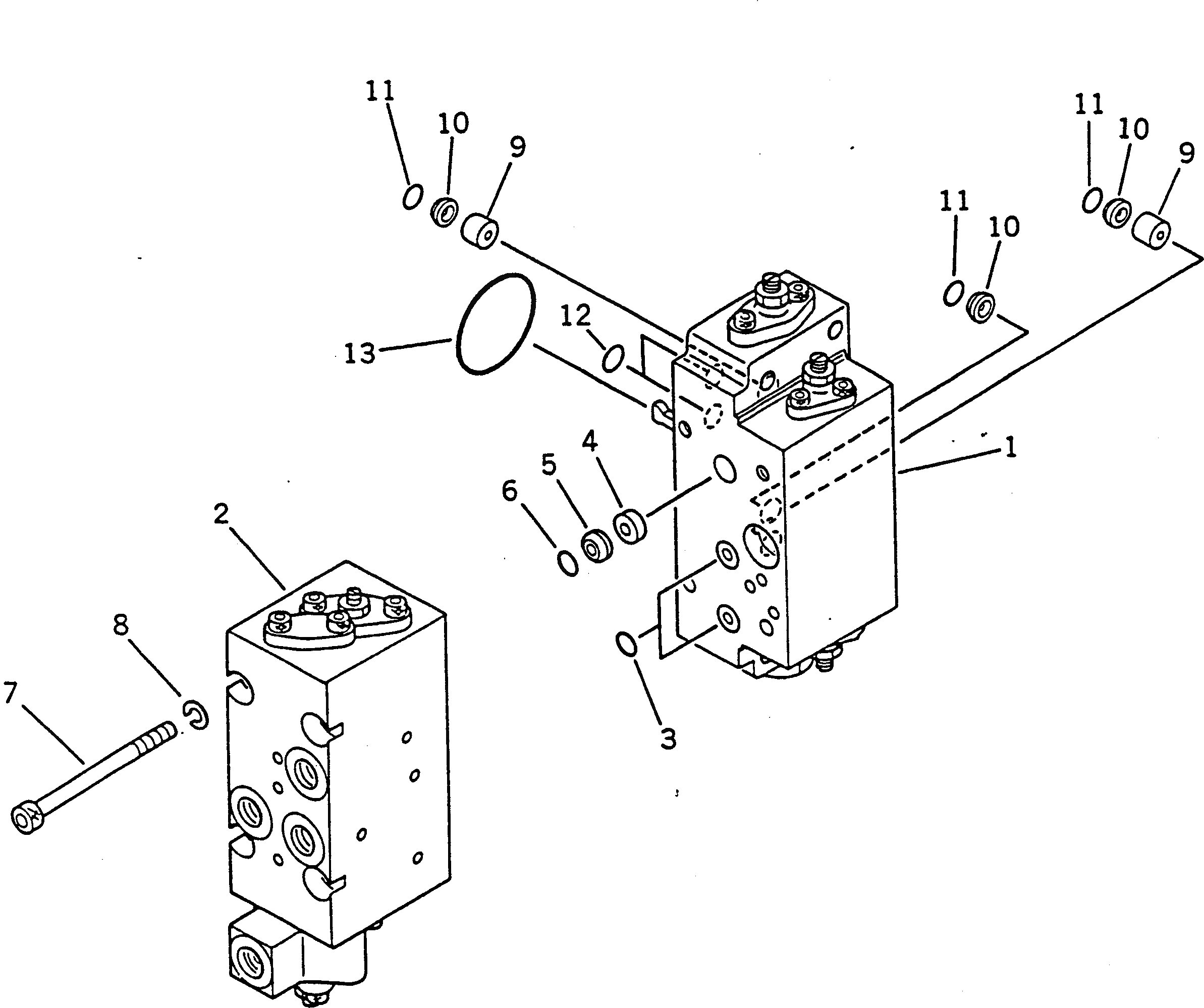
|1

708-23-04013

PUMP ASS'Y,HYDRAULIC (HPV55+55)

|1

708-23-04612

VALVE ASS'Y,SERVO¤ REAR

1

708-23-16502

VALVE SUB ASS'Y,SERVO¤ REAR

2

708-23-04811

VALVE ASS'Y,C.O. AND N.C.

3

07000-02011

O-RING

4

708-25-19191

ORIFICE

5

720-68-11920

FILTER

6

07000-12010

O-RING

7

708-25-19160

BOLT

8

01602-20825

WASHER,SPRING

9

708-23-19130

ORIFICE

10

720-68-11920

FILTER

11

07000-12010

O-RING

12

07000-11009

O-RING

13

07000-03048

O-RING

Выбрано товаров: 15