Запчасти Komatsu PC150HD-5K ЭЛЕКТРИКА (РАДИО И ГРОМКОГОВОРИТ.) КОМПОНЕНТЫ ДВИГАТЕЛЯ И ЭЛЕКТРИКА

Схема запчастей Komatsu PC150HD-5K - ЭЛЕКТРИКА (РАДИО И ГРОМКОГОВОРИТ.) КОМПОНЕНТЫ ДВИГАТЕЛЯ И ЭЛЕКТРИКА
FIT
1:1
100%

Артикул

Название

Примечание

Количество

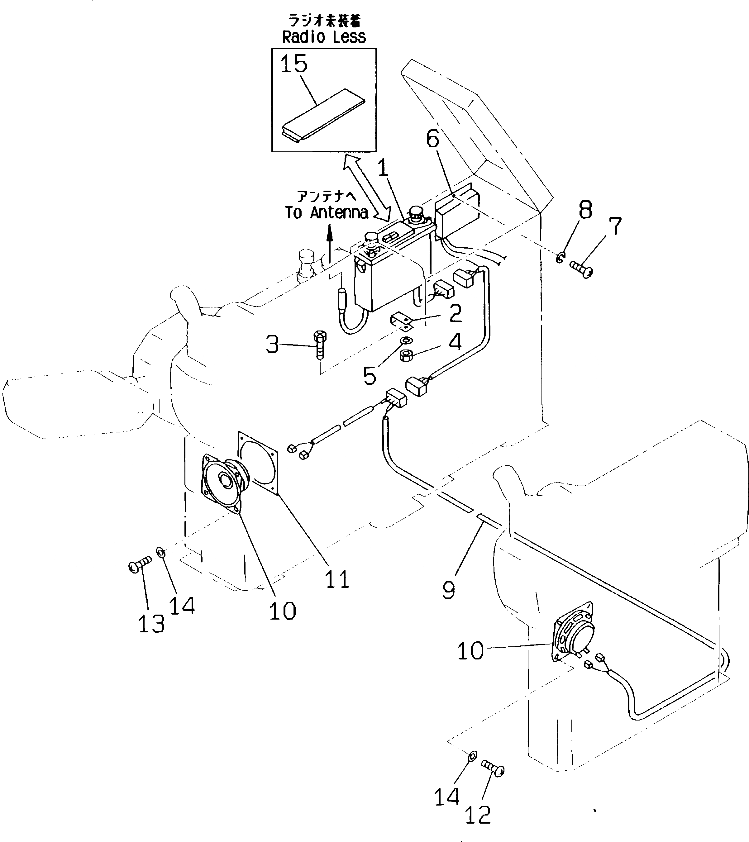
1

418-06-K1823

RADIO,CASSETTE

|1

418-06-K1822

RADIO,CASSETTE

|1

418-06-K1821

RADIO,CASSETTE

2

20Y-06-K1371

BRACKET

|2

20Y-06-K1370

BRACKET

3

20Y-06-K1490

SCREW

4

01580-10403

NUT

5

01601-20410

WASHER,SPRING

6

418-06-K2172

DROPPER,VOLTAGE

|6

418-06-K2171

DROPPER,VOLTAGE

7

01220-40410

SCREW

8

01601-20410

WASHER,SPRING

9

20Y-06-K1171

WIRING HARNESS

|9

20Y-06-K1170

WIRING HARNESS

10

203-06-K1330

SPEAKER

11

203-06-K1360

SUPPORT

12

01220-40420

SCREW

|12

01370-00420

SCREW

13

01220-40520

SCREW

|13

01370-00420

SCREW

14

01642-20405

WASHER

15

205-54-K5960

COVER,(RADIO LESS)

Выбрано товаров: 22