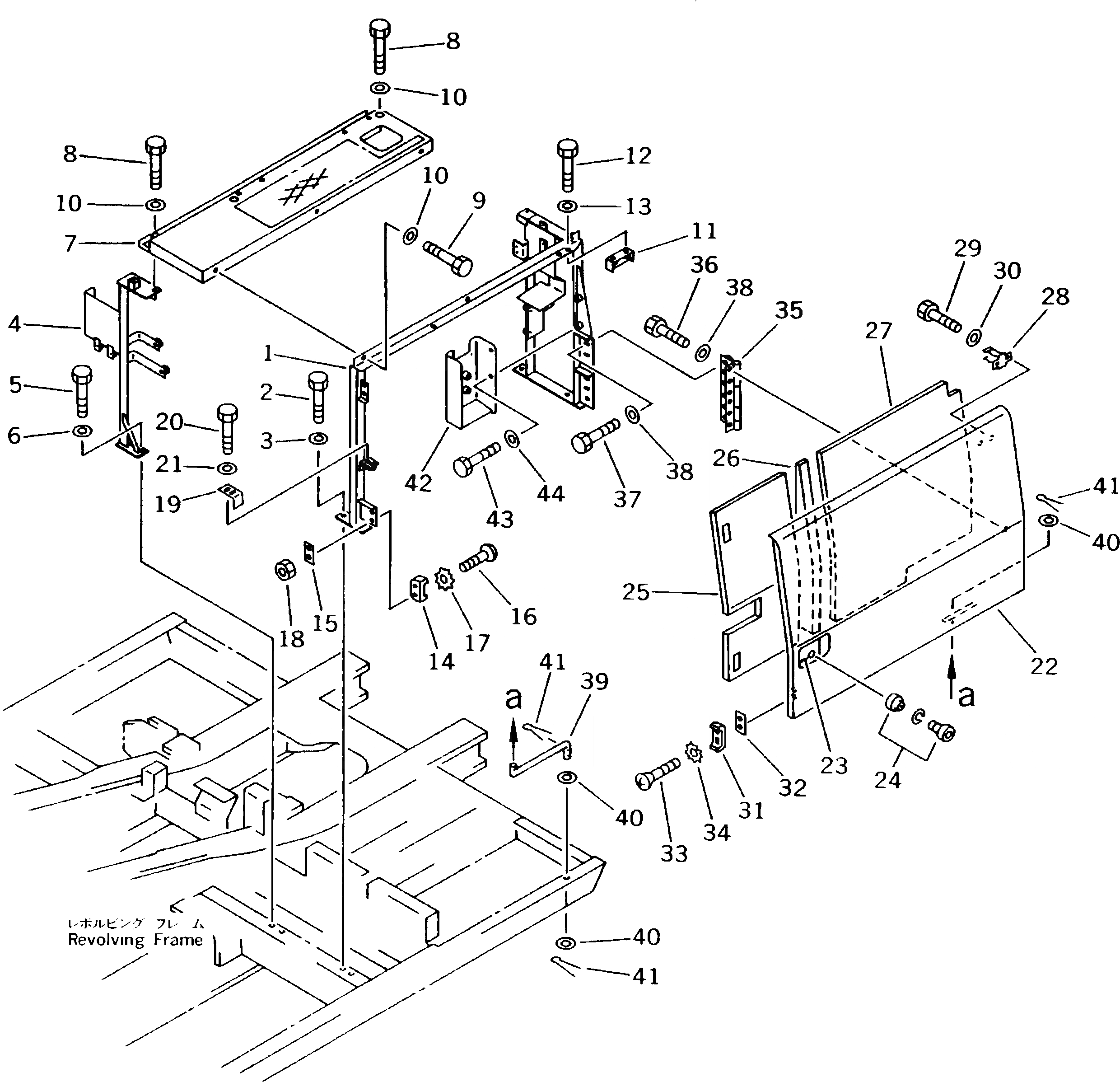
Запчасти Komatsu PC150HD-5K ЛЕВ. COVER ЧАСТИ КОРПУСА

Схема запчастей Komatsu PC150HD-5K - ЛЕВ. COVER ЧАСТИ КОРПУСА
FIT
1:1
100%

Артикул

Название

Примечание

Количество

1

203-54-59522

BRACKET

2

01010-51030

BOLT

3

01643-31032

WASHER

4

203-54-59271

BRACKET

5

01010-51030

BOLT

6

01643-31032

WASHER

7

203-54-59141

COVER

8

01010-51050

BOLT

9

01010-51025

BOLT

10

01643-31032

WASHER

11

203-54-56810

BRACKET

12

01010-51025

BOLT

13

01643-31032

WASHER

14

566-54-13410

STRIKER

15

203-54-56790

PLATE

16

01225-40820

SCREW

17

566-54-13570

WASHER

18

01580-00806

NUT

19

203-54-59290

PLATE

20

01010-51025

BOLT

21

01643-31032

WASHER

|22

203-54-59411

COVER ASS'Y

22

COVER

23

421-54-11372

LOCK ASS'Y (WELDED)

24

421-54-11381

LOCK

25

203-54-K1440

SHEET

26

203-54-K1450

SHEET

27

203-54-K1460

SHEET

28

203-54-56820

CLAMP

29

01010-51016

BOLT

30

01643-31032

WASHER

31

566-54-14420

STOPPER

32

203-54-52610

PLATE

33

01225-40820

SCREW

34

566-54-13570

WASHER

35

203-54-59240

HINGE

36

01010-51225

BOLT

37

01010-51230

BOLT

38

01643-31232

WASHER

39

21K-54-33610

BAR

40

01641-21016

WASHER

41

04050-13018

PIN,COTTER

42

203-54-59840

BRACKET

43

01010-51020

BOLT

44

01643-31032

WASHER

Выбрано товаров: 45