Запчасти Komatsu PC150HD-5K ОСНОВН. КОНСТРУКЦИЯ ЧАСТИ КОРПУСА

Схема запчастей Komatsu PC150HD-5K - ОСНОВН. КОНСТРУКЦИЯ ЧАСТИ КОРПУСА
FIT
1:1
100%

Артикул

Название

Примечание

Количество

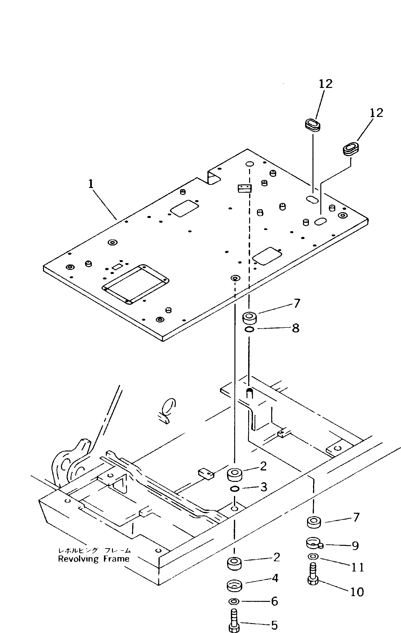
1

203-54-K1432

FRAME,FLOOR

2

203-54-21110

CUSHION

3

07000-03025

O-RING

4

201-54-21860

COLLAR

5

01010-51675

BOLT

6

01643-31645

WASHER

7

203-54-21110

CUSHION

8

07000-03025

O-RING

9

203-54-56860

COLLAR

10

01010-51675

BOLT

11

01643-31645

WASHER

12

176-911-4160

GROMMET

Выбрано товаров: 12