Запчасти Komatsu PC150HD-5K КАБИНА (БЛОКИР. BACK В СБОРЕ) (/) ЧАСТИ КОРПУСА

Схема запчастей Komatsu PC150HD-5K - КАБИНА (БЛОКИР. BACK В СБОРЕ) (/) ЧАСТИ КОРПУСА
FIT
1:1
100%

Артикул

Название

Примечание

Количество

|1

20Y-54-K1401

OPERATOR'S CAB ASS'Y

|1

20Y-54-K1400

OPERATOR'S CAB ASS'Y

|1

20Y-54-K1100

OPERATOR'S CAB ASS'Y

|1

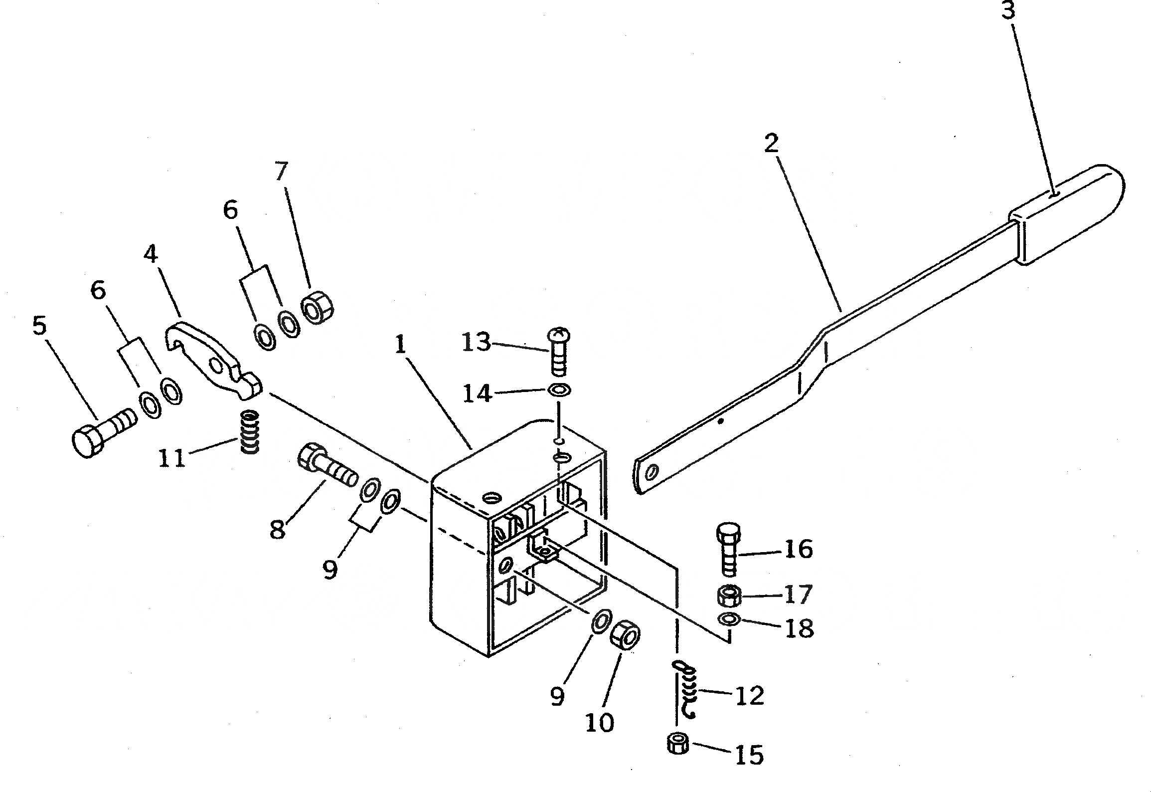
20Y-54-K1330

LOCK BACK ASS'Y

1

20Y-54-K1250

HOUSING

2

20Y-54-K1260

HANDLE

3

20Y-54-K1270

GRIP,HANDLE

4

20Y-54-K1280

HOOK

5

01010-81040

BOLT

6

01641-21016

WASHER

7

01598-01011

NUT,LOCK

8

01010-50825

BOLT

9

01641-20812

WASHER

10

01598-00809

NUT,LOCK

11

20Y-54-K1310

SPRING

12

20Y-54-K1290

SPRING

13

20Y-54-K2590

SCREW

14

01641-20608

WASHER

15

01598-00608

NUT,LOCK

16

01010-50635

BOLT

17

01580-10605

NUT

18

01641-20608

WASHER

Выбрано товаров: 22