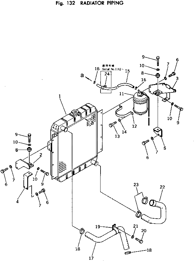
Запчасти Komatsu PC150LC-1 СИСТЕМА ТРУБ РАДИАТОРА КОМПОНЕНТЫ ДВИГАТЕЛЯ И ЭЛЕКТРИКА

Схема запчастей Komatsu PC150LC-1 - СИСТЕМА ТРУБ РАДИАТОРА КОМПОНЕНТЫ ДВИГАТЕЛЯ И ЭЛЕКТРИКА
FIT
1:1
100%

Артикул

Название

Примечание

Количество

1

21K-03-00010

RADIATOR ASS'Y

2

21K-03-12610

BRACKET,L.H.

3

21K-03-12620

BRACKET

4

21K-03-12630

BRACKET

5

21K-03-12640

BRACKET,R.H.

6

01010-51225

BOLT

7

01643-31232

WASHER

8

135-03-12110

DAMPER

9

01010-51260

BOLT

10

01643-31232

WASHER

11

206-03-43240

TANK,RESERVE

12

206-03-43261

BAND

13

01010-50820

BOLT

14

01643-30823

WASHER

15

21K-03-12660

HOSE

16

206-03-43340

CLIP

17

21K-03-12570

HOSE

18

07281-00709

CLAMP

19

21K-03-11190

CLIP

20

01010-51020

BOLT

21

01643-31032

WASHER

22

21K-03-12580

HOSE

23

07281-00809

CLAMP

24

08036-01414

CLIP

Выбрано товаров: 24