Запчасти Komatsu PC150LC-1 ПЕДАЛЬ УПРАВЛ-Я И МЕХАНИЗМ (С ДОПОЛН. ГИДРОЛИНИЕЙ) ОПЦИОННЫЕ КОМПОНЕНТЫ

Схема запчастей Komatsu PC150LC-1 - ПЕДАЛЬ УПРАВЛ-Я И МЕХАНИЗМ (С ДОПОЛН. ГИДРОЛИНИЕЙ) ОПЦИОННЫЕ КОМПОНЕНТЫ
FIT
1:1
100%

Артикул

Название

Примечание

Количество

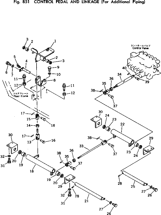
1

21K-973-1130

PEDAL

2

06120-02016

BEARING

3

06122-02004

SEAL,BEARING

4

201-973-2130

SHAFT

5

07020-00900

FITTING,GREASE

6

01010-50825

BOLT

7

01643-30823

WASHER

8

201-973-2120

BRACKET

9

01010-51025

BOLT

10

01643-31032

WASHER

11

09311-31237

BUMPER

12

01580-01210

NUT

13

04244-41008

ROD

14

01582-11008

NUT

15

04210-21040

YOKE

16

04205-11028

PIN

17

04050-13018

PIN,COTTER

18

21K-973-1640

LEVER

19

06120-03020

BEARING

20

06122-03004

SEAL,BEARING

21

21K-973-1630

SHAFT

22

21K-973-1160

LEVER

23

06120-03020

BEARING

24

06122-03004

SEAL,BEARING

25

21K-973-1150

SHAFT

26

01010-50816

BOLT

27

01643-30823

WASHER

28

04050-13040

PIN,COTTER

29

205-43-63262

BRACKET

30

205-43-63272

BRACKET

31

01010-51025

BOLT

32

01643-31032

WASHER

33

04244-41038

ROD

34

21K-973-1170

ROD

35

04210-21040

YOKE

36

01582-11008

NUT

37

04205-11028

PIN

38

04050-13018

PIN,COTTER

39

04205-10822

PIN

40

04050-12012

PIN,COTTER

Выбрано товаров: 0