Запчасти Komatsu PC150LC-1 ДОПОЛН. ГИДРОЛИНИЯ (ШАССИ) ОПЦИОННЫЕ КОМПОНЕНТЫ

Схема запчастей Komatsu PC150LC-1 - ДОПОЛН. ГИДРОЛИНИЯ (ШАССИ) ОПЦИОННЫЕ КОМПОНЕНТЫ
FIT
1:1
100%

Артикул

Название

Примечание

Количество

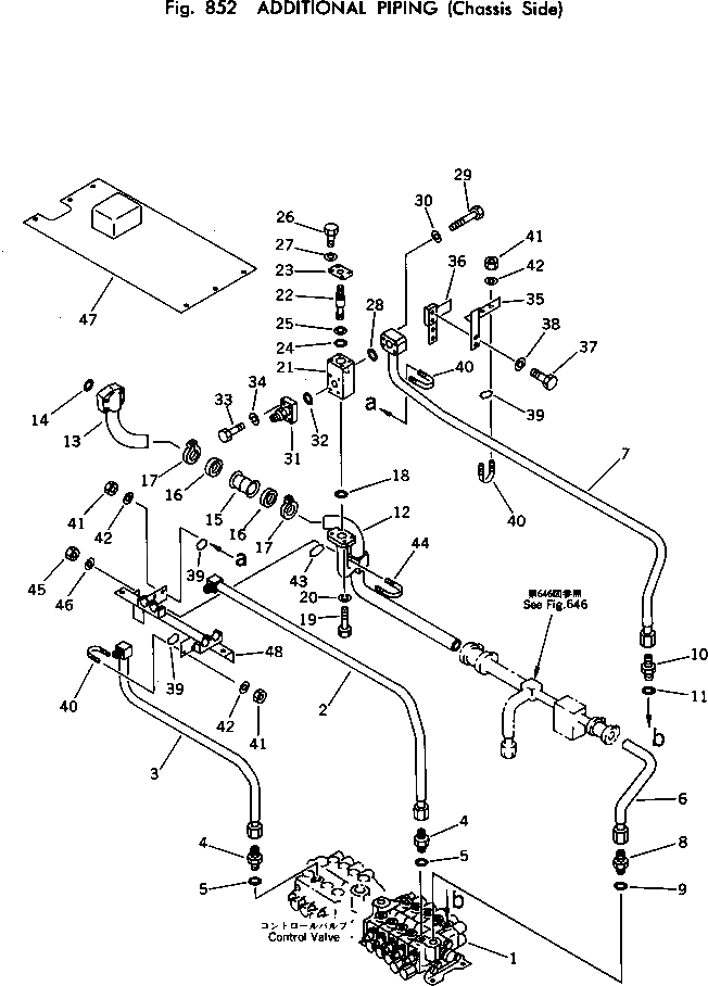
1

700-85-19000

VALVE ASS'Y

2

21K-973-1210

TUBE

3

21K-973-1220

TUBE

4

203-62-11410

NIPPLE

5

07002-12434

O-RING

6

21K-973-1230

TUBE

7

21K-973-1190

TUBE

8

07230-11034

UNION

9

07002-13334

O-RING

10

07230-10628

UNION

11

07002-12434

O-RING

12

21K-973-1240

TUBE

13

21K-973-1250

TUBE

14

07000-03045

O-RING

15

07332-01200

COUPLING

16

07332-51200

GASKET

17

07332-61200

CLAMP

18

07000-13030

O-RING

19

01010-51030

BOLT

20

01602-21030

WASHER,SPRING

|$20

203-973-3800

VALVE ASS'Y

21

203-973-3810

BODY

22

203-973-3820

SPOOL

23

20T-973-2640

PLATE

24

07000-13025

O-RING

25

07001-03025

RING,BACK-UP

26

01010-50820

BOLT

27

01643-30823

WASHER

28

07000-13030

O-RING

29

01010-51060

BOLT

30

01643-31032

WASHER

31

21K-973-1260

PIPE

32

07000-13030

O-RING

33

01010-51030

BOLT

34

01602-21030

WASHER,SPRING

35

21K-973-1310

BRACKET

36

21K-973-1290

BRACKET

37

01010-51230

BOLT

38

01643-31232

WASHER

39

07283-52737

SEAT

40

07283-22738

CLIP

41

01599-01011

NUT

42

01643-31032

WASHER

43

07283-53444

SEAT

44

07283-23442

CLIP

45

01599-01011

NUT

46

01643-31032

WASHER

47

21K-973-1320

COVER

48

21K-973-1270

BRACKET

Выбрано товаров: 49