Запчасти Komatsu PC150LC-1 MACHINERY ОБСТАНОВКА (/) (СПЕЦ-Я TBG)(№9-) ОПЦИОННЫЕ КОМПОНЕНТЫ (СПЕЦ. APPLICATION ЧАСТИ)

Схема запчастей Komatsu PC150LC-1 - MACHINERY ОБСТАНОВКА (/) (СПЕЦ-Я TBG)(№9-) ОПЦИОННЫЕ КОМПОНЕНТЫ (СПЕЦ. APPLICATION ЧАСТИ)
FIT
1:1
100%

Артикул

Название

Примечание

Количество

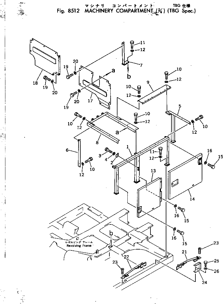
1

21K-54-22210

FRAME

2

21K-54-22470

BRACKET

3

01010-51025

BOLT

4

01643-31032

WASHER

5

21K-54-22251

FRAME

6

21K-54-22231

FRAME

7

21K-54-22241

FRAME

8

21K-54-22221

FRAME

9

21K-54-22260

FRAME

10

01010-51225

BOLT

11

01010-51230

BOLT

12

01643-31232

WASHER

13

21K-54-31170

DOOR

14

21K-54-31160

DOOR

15

01010-51225

BOLT

16

01643-31232

WASHER

17

21K-54-22711

COVER

18

21K-54-22721

COVER

19

01010-51225

BOLT

20

01643-31232

WASHER

21

208-54-12450

STAY

22

208-54-13160

STAY

23

01225-40510

SCREW

24

21K-54-31190

BRACKET

25

01010-51040

BOLT

26

01643-31032

WASHER

Выбрано товаров: 26