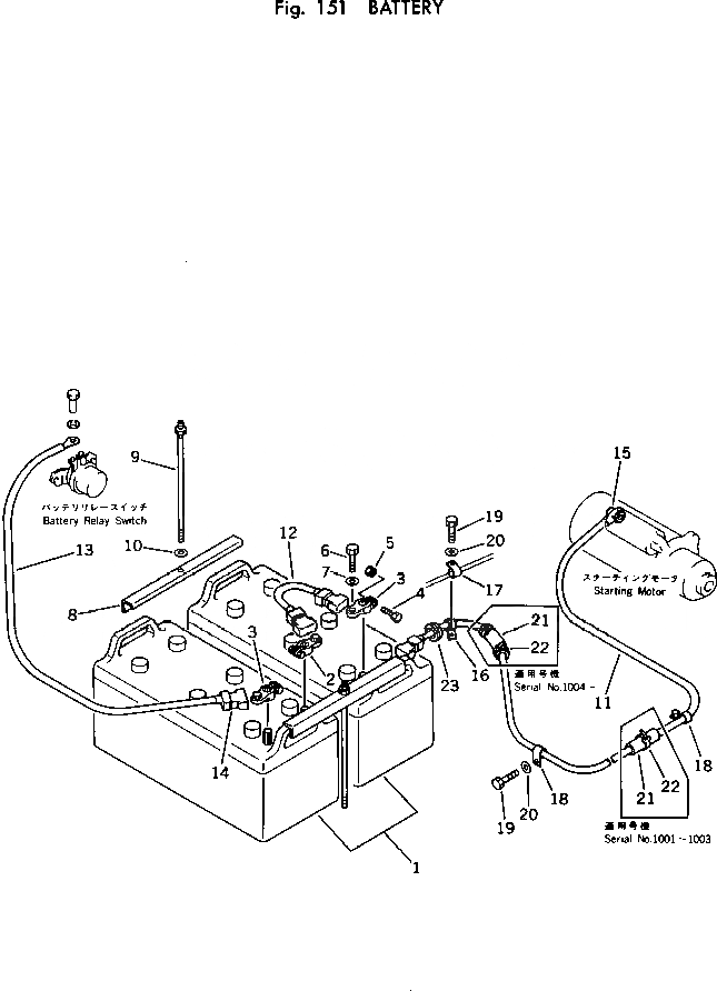
Запчасти Komatsu PC150LC-1 АККУМУЛЯТОР КОМПОНЕНТЫ ДВИГАТЕЛЯ И ЭЛЕКТРИКА

Схема запчастей Komatsu PC150LC-1 - АККУМУЛЯТОР КОМПОНЕНТЫ ДВИГАТЕЛЯ И ЭЛЕКТРИКА
FIT
1:1
100%

Артикул

Название

Примечание

Количество

1

08000-02215

BATTERY (145G51)

2

08000-00000

TERMINAL, (+)

3

08000-00001

TERMINAL, (-)

4

01010-30830

BOLT

5

01580-00806

NUT

6

01050-31018

BOLT

7

01640-01016

WASHER

8

205-06-51380

CLAMP

9

202-09-11120

BOLT

10

01643-31232

WASHER

11

08028-14275

WIRE, 2750MM

12

08028-14011

WIRE, 110MM

13

08028-23085

WIRE

14

08038-22511

CAP

15

08038-00035

CAP

16

08036-02514

CLIP

17

08036-11214

CLIP

18

08036-02514

CLIP

18

08036-03014

CLIP

19

01010-51020

BOLT

20

01643-31032

WASHER

21

205-62-53780

COVER

21

205-62-53780

COVER

22

08034-00519

BAND

22

08034-00519

BAND

23

08037-05016

GROMMET

Выбрано товаров: 26