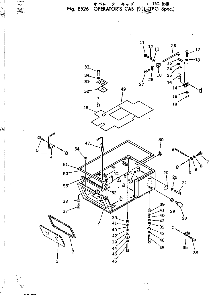
Запчасти Komatsu PC150LC-1 КАБИНА (/) (СПЕЦ-Я TBG)(№9-) ОПЦИОННЫЕ КОМПОНЕНТЫ (СПЕЦ. APPLICATION ЧАСТИ)

Схема запчастей Komatsu PC150LC-1 - КАБИНА (/) (СПЕЦ-Я TBG)(№9-) ОПЦИОННЫЕ КОМПОНЕНТЫ (СПЕЦ. APPLICATION ЧАСТИ)
FIT
1:1
100%

Артикул

Название

Примечание

Количество

|$0

21K-54-00020

FLOOR FRAME ASS'Y

1

21K-54-11112

FRAME,FLOOR

2

205-54-66610

GLASS

3

205-54-66620

STRIP,WEATHER

4

205-54-66490

HANDLE

5

01252-41030

BOLT

6

205-54-63370

REST,FOOT

7

01010-50825

BOLT

8

01602-20825

WASHER,SPRING

9

01641-00812

WASHER

10

205-54-66450

GUIDE

11

01220-30620

SCREW

12

01602-20619

WASHER,SPRING

13

01641-00608

WASHER

|$14

205-54-63400

CATCHER ASS'Y

14

205-54-63410

BRACKET

15

205-54-63420

HOOK

16

205-54-53580

SPRING

17

178-57-11250

PIN

18

01641-01016

WASHER

19

04050-02018

PIN,COTTER

20

205-54-66460

COVER

21

01220-30630

SCREW

22

01643-30623

WASHER

23

205-54-66440

ROD

24

01641-00812

WASHER

25

04050-02012

PIN,COTTER

26

130-43-63320

KNOB

27

01220-30416

SCREW

28

21K-54-11310

STOPPER

29

01580-11210

NUT

30

205-54-65980

GROMMET

31

203-54-31260

PLATE

32

203-54-31270

COVER

33

01220-30616

SCREW

34

01643-30623

WASHER

35

206-54-15540

ASHTRAY

36

01224-40416

SCREW

37

01010-51030

BOLT

38

01643-31032

WASHER

39

203-54-21110

CUSHION

40

07000-03025

O-RING

41

205-54-67430

SPACER, 2.3MM

41

205-54-67420

SPACER, 3.2MM

42

205-54-67450

SPACER, 2.3MM

42

205-54-67440

SPACER, 3.2MM

43

201-54-21860

COLLAR

44

205-54-51950

PLATE

45

01010-51675

BOLT

46

01643-31645

WASHER

47

21K-54-11121

PIN,SWING LOCK

48

21K-54-11130

MAT,FLOOR

49

205-54-67830

MAT,FLOOR

50

21K-54-11430

SEAL

51

21K-54-11750

SEAL

52

21K-54-11250

SEAL

53

21K-54-11260

SEAL

54

21K-54-11290

WASHER

55

205-54-68620

SEAL

Выбрано товаров: 59