Запчасти Komatsu PC150LC-1 ЭЛЕКТРИКА КОМПОНЕНТЫ ДВИГАТЕЛЯ И ЭЛЕКТРИКА

Схема запчастей Komatsu PC150LC-1 - ЭЛЕКТРИКА КОМПОНЕНТЫ ДВИГАТЕЛЯ И ЭЛЕКТРИКА
FIT
1:1
100%

Артикул

Название

Примечание

Количество

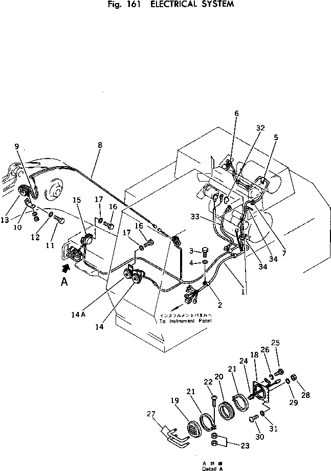
1

21K-06-12710

WIRE ASS'Y

2

08036-02514

CLIP

3

01010-51020

BOLT

4

01643-31032

WASHER

5

08036-11214

CLIP

6

08036-10810

CLIP

7

08034-00310

BAND

7

08034-00310

BAND

8

21K-06-11140

WIRE

9

205-06-51390

CABLE

10

203-06-21290

PLATE

11

01010-51430

BOLT

12

01643-31445

WASHER

13

08128-32400

LAMP,FRONT WORK

13

08113-02480

BULB, 80W

14

175-06-39170

HORN

14A

205-06-64430

HORN

14A

175-06-39170

HORN

15

08088-10000

SWITCH,BATTERY RELAY

16

01010-50816

BOLT

17

01643-30823

WASHER

|$21

205-06-62500

LAMP ASS'Y,HEAD

18

144-06-13221

BASE

19

08113-02480

BULB, 80W

20

08128-00003

HOLDER

21

08128-00004

BAND

22

01220-40420

SCREW

23

01580-10403

NUT

24

175-06-23230

SOCKET

25

01220-40408

SCREW

26

01601-20410

WASHER,SPRING

27

144-06-13120

GUARD

28

01580-10605

NUT

29

01643-30623

WASHER

30

01220-40816

SCREW

31

01643-30823

WASHER

32

08038-00519

CAP

33

205-06-51360

WIRE

34

08034-00414

BAND

Выбрано товаров: 39