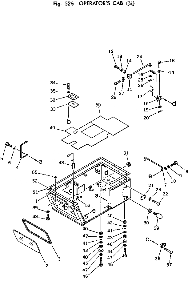
Запчасти Komatsu PC150LC-1 КАБИНА (/) ОСНОВНАЯ РАМА И КАБИНА

Схема запчастей Komatsu PC150LC-1 - КАБИНА (/) ОСНОВНАЯ РАМА И КАБИНА
FIT
1:1
100%

Артикул

Название

Примечание

Количество

|$0

21K-54-00011

FLOOR FRAME ASS'Y

|$1

21K-54-00010

FLOOR FRAME ASS'Y

1

21K-54-11112

FRAME,FLOOR

2

205-54-66610

GLASS

3

205-54-66620

STRIP,WEATHER

4

205-54-66490

HANDLE

5

01010-51030

BOLT

6

01643-31032

WASHER

7

205-54-63370

REST,FOOT

8

01010-50825

BOLT

9

01602-20825

WASHER,SPRING

10

01641-00812

WASHER

11

205-54-66450

GUIDE

12

01220-30620

SCREW

13

01602-20619

WASHER,SPRING

14

01641-00608

WASHER

|$16

205-54-63400

CATCHER ASS'Y

15

205-54-63410

BRACKET

16

205-54-63420

HOOK

17

205-54-53580

SPRING

18

178-57-11250

PIN

19

01641-01016

WASHER

20

04050-02018

PIN,COTTER

21

205-54-66460

COVER

22

01220-30630

SCREW

23

01643-30623

WASHER

24

205-54-66440

ROD

25

01641-00812

WASHER

26

04050-02012

PIN,COTTER

27

130-43-63320

KNOB

28

01220-30416

SCREW

29

21K-54-11310

STOPPER

29

09453-00002

STOPPER

30

01580-11210

NUT

31

205-54-65980

GROMMET

32

203-54-31260

PLATE

33

203-54-31270

COVER

34

01220-30616

SCREW

35

01643-30623

WASHER

36

206-54-15540

ASHTRAY

37

01220-30416

SCREW

38

01010-51030

BOLT

39

01643-31032

WASHER

40

203-54-21110

CUSHION

41

07000-03025

O-RING

42

205-54-67430

SPACER, 2.3MM

42

205-54-67420

SPACER, 3.2MM

43

205-54-67450

SPACER, 2.3MM

43

205-54-67440

SPACER, 3.2MM

44

201-54-21860

COLLAR

45

205-54-51950

PLATE

46

01010-51675

BOLT

47

01643-31645

WASHER

48

21K-54-11121

PIN,SWING LOCK

49

21K-54-11130

MAT,FLOOR

50

205-54-67830

MAT,FLOOR

51

21K-54-11430

SEAL

52

21K-54-11750

SEAL

53

21K-54-11250

SEAL

54

21K-54-11260

SEAL

55

21K-54-11290

WASHER

Выбрано товаров: 61