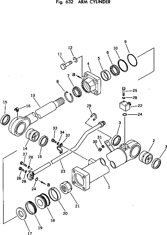
Запчасти Komatsu PC150LC-1 ЦИЛИНДР РУКОЯТИ УПРАВЛ-Е РАБОЧИМ ОБОРУДОВАНИЕМ

Схема запчастей Komatsu PC150LC-1 - ЦИЛИНДР РУКОЯТИ УПРАВЛ-Е РАБОЧИМ ОБОРУДОВАНИЕМ
FIT
1:1
100%

Артикул

Название

Примечание

Количество

|$0

21K-63-66301

ARM CYLINDER ASS'Y,\

1

21K-63-66340

CYLINDER

2

707-76-80030

BUSHING

3

07145-00080

SEAL,DUST (KIT)

4

707-27-12020

HEAD,CYLINDER

5

07177-08030

BUSHING

6

707-51-80211

PACKING,ROD (KIT)

7

195-63-92190

SEAL,DUST (KIT)

8

07179-00103

RING,SNAP

9

07000-12115

O-RING (KIT)

10

07146-02116

RING,BACK-UP (KIT)

11

01010-82475

BOLT

12

01602-22472

WASHER,SPRING

13

21K-63-66320

ROD,PISTON \

14

707-76-80030

BUSHING

15

07145-00080

SEAL,DUST (KIT)

16

07020-00900

FITTING,GREASE

17

707-41-10130

WASHER

18

707-36-12381

PISTON

19

707-44-12080

RING,PISTON (KIT)

20

07155-01230

RING,WEAR (KIT)

21

07165-15860

NUT,\

22

21K-62-15173

ELBOW,\

23

21K-63-66370

TUBE

24

07000-13030

O-RING (KIT)

25

01010-50870

BOLT

26

01010-50840

BOLT

27

01010-50855

BOLT

28

01602-20825

WASHER,SPRING

29

07283-22738

CLIP

30

01599-01011

NUT

31

01643-31032

WASHER

32

07282-02793

CLAMP

33

01010-51025

BOLT

34

01602-21030

WASHER,SPRING

Выбрано товаров: 35