Запчасти Komatsu PC150LC-1 ЦИЛИНДР КОВША УПРАВЛ-Е РАБОЧИМ ОБОРУДОВАНИЕМ

Схема запчастей Komatsu PC150LC-1 - ЦИЛИНДР КОВША УПРАВЛ-Е РАБОЧИМ ОБОРУДОВАНИЕМ
FIT
1:1
100%

Артикул

Название

Примечание

Количество

|$0

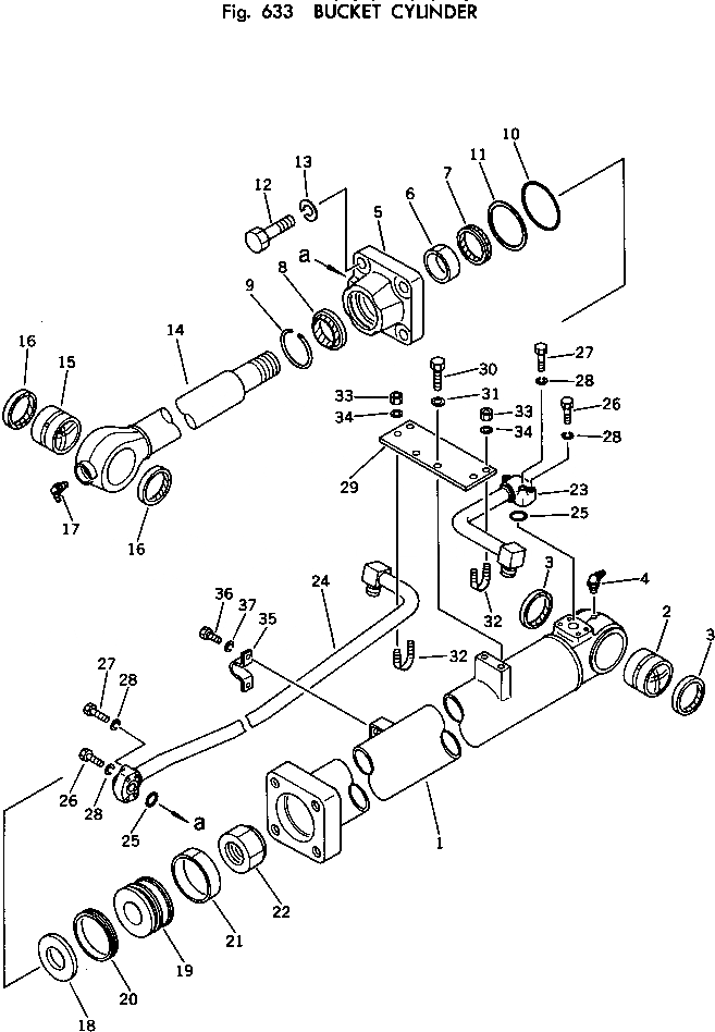
21K-63-76301

BUCKET CYLINDER A.,\

1

21K-63-76340

CYLINDER

2

707-76-70040

BUSHING

3

07145-00070

SEAL,DUST (KIT)

4

07020-00900

FITTING,GREASE

5

707-27-11170

HEAD,CYLINDER

6

07177-07030

BUSHING

7

707-51-70211

PACKING,ROD (KIT)

8

144-63-95170

SEAL,DUST (KIT)

9

07179-00093

RING,SNAP

10

07000-12105

O-RING (KIT)

11

07146-02106

RING,BACK-UP (KIT)

12

01010-82475

BOLT

13

01602-22472

WASHER,SPRING

14

21K-63-76320

ROD,PISTON

15

707-76-70060

BUSHING

16

21K-70-12180

SEAL,DUST (KIT)

17

07020-00675

FITTING,GREASE

18

707-40-11380

RETAINER

19

707-36-11380

PISTON

20

707-44-11080

RING,PISTON (KIT)

21

07155-01125

RING,WEAR (KIT)

22

07165-15252

NUT,\

23

21K-63-76380

TUBE

24

21K-63-76370

TUBE

25

07000-13030

O-RING (KIT)

26

01010-50840

BOLT

27

01010-50855

BOLT

28

01602-20825

WASHER,SPRING

29

21K-63-15272

PLATE

30

01010-51230

BOLT

31

01643-31232

WASHER

32

07283-22738

CLIP

33

01599-01011

NUT

34

01643-31032

WASHER

35

07282-02793

CLAMP

36

01010-51025

BOLT

37

01602-21030

WASHER,SPRING

Выбрано товаров: 38