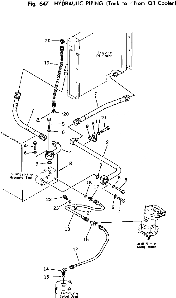
Запчасти Komatsu PC150LC-1 ГИДРОЛИНИЯ (БАК TO/FROM МАСЛООХЛАДИТЕЛЬ) УПРАВЛ-Е РАБОЧИМ ОБОРУДОВАНИЕМ

Схема запчастей Komatsu PC150LC-1 - ГИДРОЛИНИЯ (БАК TO/FROM МАСЛООХЛАДИТЕЛЬ) УПРАВЛ-Е РАБОЧИМ ОБОРУДОВАНИЕМ
FIT
1:1
100%

Артикул

Название

Примечание

Количество

1

21K-62-12451

TUBE

2

21K-62-12440

TUBE

3

07000-03035

O-RING

4

01010-51055

BOLT

5

01010-51060

BOLT

6

01643-31032

WASHER

7

07102-21006

HOSE

8

205-931-6130

CLAMP

9

175-79-33240

SPACER

10

01010-51265

BOLT

11

01643-31232

WASHER

12

07102-20306

HOSE

13

07102-20309

HOSE

14

07235-10315

ELBOW

15

07002-02034

O-RING

16

12R-49-12580

TEE

17

07230-10315

UNION

18

07002-02034

O-RING

19

203-62-22160

HOSE

20

202-62-21430

ELBOW

21

08036-01814

CLIP

22

01010-51220

BOLT

23

01642-21216

WASHER

Выбрано товаров: 23