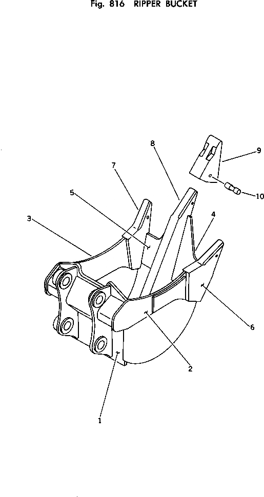
Запчасти Komatsu PC150LC-1 КОВШ-РЫХЛИТЕЛЬ ОПЦИОННЫЕ КОМПОНЕНТЫ

Схема запчастей Komatsu PC150LC-1 - КОВШ-РЫХЛИТЕЛЬ ОПЦИОННЫЕ КОМПОНЕНТЫ
FIT
1:1
100%

Артикул

Название

Примечание

Количество

|$0

21K-922-0010

BUCKET ASS'Y

1

21K-922-1110

BUCKET,RIPPER

2

21K-922-1160

PLATE (WELDED)

3

21K-922-1150

PLATE (WELDED)

4

21K-922-1180

PLATE (WELDED)

5

21K-922-1170

PLATE (WELDED)

6

21K-922-1140

ADAPTER (WELDED)

7

21K-922-1130

ADAPTER (WELDED)

8

21K-922-1120

SHANK (WELDED)

9

175-78-31230

POINT

10

09244-02508

PIN

Выбрано товаров: 11