Запчасти Komatsu PC150LC-1 ТОПЛИВН. PRE-ФИЛЬТР. И ТРУБЫ ОПЦИОННЫЕ КОМПОНЕНТЫ

Схема запчастей Komatsu PC150LC-1 - ТОПЛИВН. PRE-ФИЛЬТР. И ТРУБЫ ОПЦИОННЫЕ КОМПОНЕНТЫ
FIT
1:1
100%

Артикул

Название

Примечание

Количество

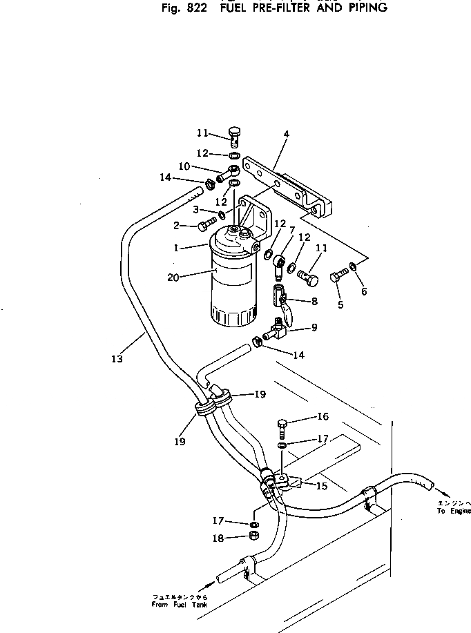
1

600-311-9100

FUEL FILTER ASS'Y

2

01010-51035

BOLT

3

01643-31032

WASHER

4

21K-04-61120

BRACKET

5

01010-51225

BOLT

6

01643-31232

WASHER

7

205-04-62140

JOINT

8

07700-40240

VALVE

9

205-04-62130

ELBOW

10

205-04-62150

JOINT

11

07206-31014

BOLT,JOINT

12

07005-01412

GASKET,SEAL

13

202-04-41110

HOSE

14

07281-00197

CLAMP

15

6114-61-8550

CLAMP

16

01010-51030

BOLT

17

01643-31032

WASHER

18

01580-11008

NUT

19

560-06-12510

GROMMET

20

6712-81-8610

PLATE, CAUTION,(JAPANESE-ENGLISH)

20

6712-81-8620

PLATE, CAUTION,(ENGLISH)

20

6712-81-8630

PLATE, CAUTION,(ENGLISH-ARABIC)

20

6712-81-8650

PLATE, CAUTION,(ENGLISH-INDONESIAN)

20

6712-81-8660

PLATE, CAUTION,(ENGLISH-FRENCH)

20

6712-81-8720

PLATE, CAUTION,(ENGLISH-SPANISH)

Выбрано товаров: 25