Запчасти Komatsu PC150LC-1 УДЛИНН. РУКОЯТЬ ОПЦИОННЫЕ КОМПОНЕНТЫ

Схема запчастей Komatsu PC150LC-1 - УДЛИНН. РУКОЯТЬ ОПЦИОННЫЕ КОМПОНЕНТЫ
FIT
1:1
100%

Артикул

Название

Примечание

Количество

|$0

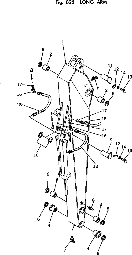
21K-943-0010

LONG ARM ASS'Y

1

ARM,LONG

2

21K-70-12161

BUSHING

3

21K-70-12170

BUSHING

4

21K-70-12141

BUSHING

5

07145-00080

SEAL,DUST

6

21K-70-12180

SEAL,DUST

7

07020-00900

FITTING,GREASE

8

07020-00000

FITTING,GREASE

9

21K-70-12151

PIN

10

203-70-24170

SPACER, 1.0MM

11

21K-70-11251

PIN

12

205-70-66580

PLATE

13

01010-51230

BOLT

14

01643-31232

WASHER

15

07230-10628

UNION

16

07236-10628

ELBOW

17

07002-12434

O-RING

18

07121-20609

HOSE

Выбрано товаров: 19