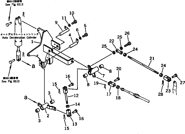
Запчасти Komatsu PC150LC-3 МЕХАНИЗМ УПРАВЛ-Я ПОДАЧЕЙ ТОПЛИВА (АВТОМ. ЗАМЕДЛЕНИЕ ОБОРОТОВ)(№-8) КОМПОНЕНТЫ ДВИГАТЕЛЯ И ЭЛЕКТРИКА

Схема запчастей Komatsu PC150LC-3 - МЕХАНИЗМ УПРАВЛ-Я ПОДАЧЕЙ ТОПЛИВА (АВТОМ. ЗАМЕДЛЕНИЕ ОБОРОТОВ)(№-8) КОМПОНЕНТЫ ДВИГАТЕЛЯ И ЭЛЕКТРИКА
FIT
1:1
100%

Артикул

Название

Примечание

Количество

1

203-43-42870

BRACKET

2

21K-43-21240

LEVER

3

09350-02220

BUSHING

4

203-43-42930

SHAFT

5

01010-50816

BOLT

6

01643-30823

WASHER

7

203-43-42890

LEVER

8

09350-02220

BUSHING

9

203-43-42910

SHAFT

10

01010-50816

BOLT

11

01643-30823

WASHER

12

04244-41009

ROD

13

203-43-11355

YOKE

14

01582-11008

NUT

15

04050-13018

PIN,COTTER

16

04205-11028

PIN

17

144-947-2850

YOKE

18

01580-11008

NUT

19

04050-13018

PIN,COTTER

20

04205-11028

PIN

21

04245-51038

ROD

22

04250-81068

END,ROD

23

201-43-21370

YOKE

24

01582-11008

NUT

25

04254-01032

SPACER

26

01010-51035

BOLT

27

04205-10622

PIN

28

04050-11612

PIN,COTTER

Выбрано товаров: 0