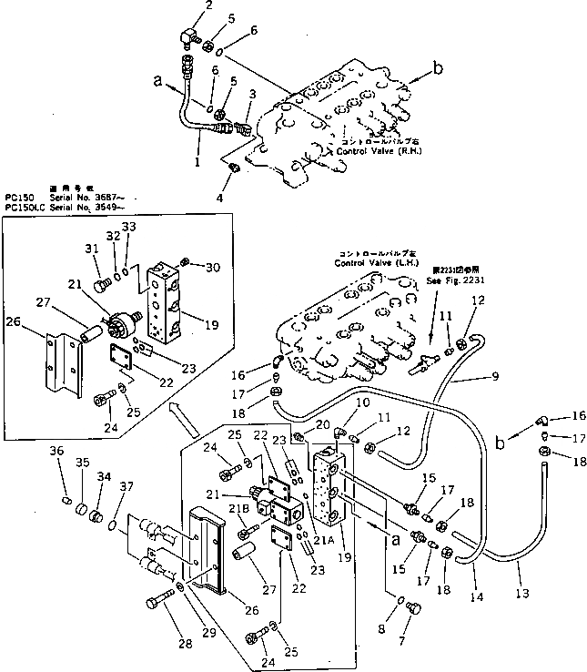
Запчасти Komatsu PC150LC-3 ГИДРОЛИНИЯ (КЛАПАН TO/FROM СОЛЕНОИДНЫЙ КЛАПАН) (W/O.АВТОМАТИЧ. DECEL.¤ПОВОРОТН. МЕХАНИЧ. ТОРМОЗ.)(№9-) УПРАВЛ-Е РАБОЧИМ ОБОРУДОВАНИЕМ

Схема запчастей Komatsu PC150LC-3 - ГИДРОЛИНИЯ (КЛАПАН TO/FROM СОЛЕНОИДНЫЙ КЛАПАН) (W/O.АВТОМАТИЧ. DECEL.¤ПОВОРОТН. МЕХАНИЧ. ТОРМОЗ.)(№9-) УПРАВЛ-Е РАБОЧИМ ОБОРУДОВАНИЕМ
FIT
1:1
100%

Артикул

Название

Примечание

Количество

1

203-62-44120

HOSE

2

07232-20210

ELBOW

3

07231-20210

ELBOW

4

07042-00108

PLUG

5

07239-11408

NUT

6

07002-01423

O-RING

7

07040-11409

PLUG

8

07002-01423

O-RING

9

07822-00605

TUBE

10

07834-00613

ELBOW

11

07831-00612

SLEEVE

12

07832-00614

NUT

13

07822-00404

TUBE

14

07822-00409

TUBE

15

07836-00410

CONNECTOR

16

07834-00410

ELBOW

17

07831-00411

SLEEVE

18

07832-00410

NUT

19

203-62-41814

BLOCK

|19

203-62-41812

BLOCK

20

07042-10108

PLUG

21

203-60-42240

SOLENOID VALVE ASS'Y

|21

21K-60-12301

SOLENOID VALVE ASS'Y

21A

07000-11009

O-RING

21B

01252-40545

BOLT

22

203-62-42960

COVER

|22

203-62-42960

COVER

23

07000-11009

O-RING

|23

07000-11009

O-RING

24

01252-40520

BOLT

|24

01252-40520

BOLT

25

01601-20513

WASHER,SPRING

|25

01601-20513

WASHER,SPRING

26

203-62-44491

COVER

|26

203-62-44490

COVER

27

203-62-44510

SPACER

28

01011-51235

BOLT

29

01643-31232

WASHER

30

07043-70108

PLUG

31

203-62-45130

PLUG

32

07000-02018

O-RING

33

07000-02014

O-RING

34

22W-07-14650

CONNECTOR

35

22W-07-14700

GROMMET

36

22W-07-11960

PLUG

37

22W-07-11910

O-RING

Выбрано товаров: 46