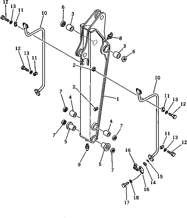
Запчасти Komatsu PC150LC-3 ГРЕЙФЕРН. РУКОЯТЬ И ТРУБЫ (8MM РУКОЯТЬ) РАБОЧЕЕ ОБОРУДОВАНИЕ

Схема запчастей Komatsu PC150LC-3 - ГРЕЙФЕРН. РУКОЯТЬ И ТРУБЫ (8MM РУКОЯТЬ) РАБОЧЕЕ ОБОРУДОВАНИЕ
FIT
1:1
100%

Артикул

Название

Примечание

Количество

|1

21K-931-0020

ARM ASS'Y

1

ARM

2

202-931-4570

CLAMP (WELDED)

3

21K-70-12161

BUSHING

4

21K-70-12170

BUSHING

5

21K-70-22130

BUSHING

6

07145-00080

SEAL,DUST

7

21K-70-12180

SEAL,DUST

8

07020-00900

FITTING,GREASE

9

07020-00000

FITTING,GREASE

10

21K-931-2230

TUBE

11

202-931-4560

CLAMP

12

01010-51250

BOLT

13

01643-31232

WASHER

14

07378-10600

HEAD,(FOR SHIPPING)

15

07000-13025

O-RING,(FOR SHIPPING)

16

07371-30638

FLANGE,(FOR SHIPPING)

17

01010-50830

BOLT,(FOR SHIPPING)

18

01643-50823

WASHER,(FOR SHIPPING)

Выбрано товаров: 19