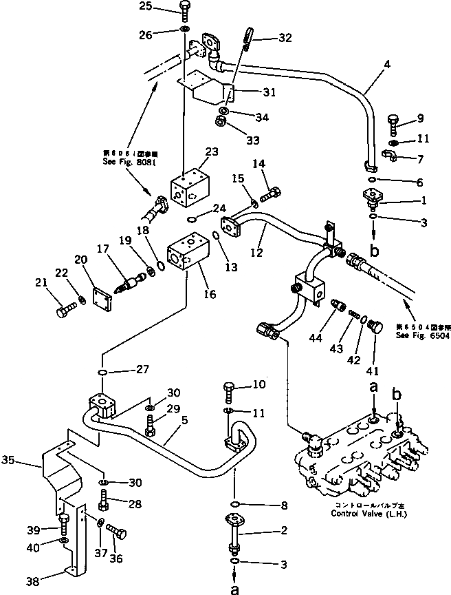
Запчасти Komatsu PC150LC-3 ДОПОЛН. ГИДРАВЛ КОНТУР (ШАССИ) ОПЦИОННЫЕ КОМПОНЕНТЫ

Схема запчастей Komatsu PC150LC-3 - ДОПОЛН. ГИДРАВЛ КОНТУР (ШАССИ) ОПЦИОННЫЕ КОМПОНЕНТЫ
FIT
1:1
100%

Артикул

Название

Примечание

Количество

1

21K-62-21210

FLANGE

2

21K-973-2320

FLANGE

3

07002-12434

O-RING

4

21K-973-2351

TUBE

|4

21K-973-2350

TUBE

5

21K-973-2341

TUBE

6

07000-13025

O-RING

7

07371-30638

FLANGE,SPLIT

8

07000-13030

O-RING

9

01010-50830

BOLT

10

01010-50845

BOLT

11

01602-20825

WASHER,SPRING

12

21K-973-2361

TUBE

|12

21K-973-2360

TUBE

13

07000-13030

O-RING

14

01010-51030

BOLT

15

01602-21030

WASHER,SPRING

|16

203-973-3800

VALVE ASS'Y

16

203-973-3810

BODY

17

203-973-3820

SPOOL

18

07000-13025

O-RING

19

07001-03025

RING,BACK-UP

20

20T-973-2640

PLATE

21

01010-50820

BOLT

22

01643-20823

WASHER

23

203-973-4340

BLOCK

24

07000-13030

O-RING

25

01011-51000

BOLT

26

01602-21030

WASHER,SPRING

27

07000-13030

O-RING

28

01010-51070

BOLT

29

01010-51050

BOLT

30

01602-21030

WASHER,SPRING

31

21K-973-2411

BRACKET

|31

21K-973-2410

BRACKET

32

07283-22738

CLIP

33

01599-01011

NUT

34

01643-31032

WASHER

35

21K-973-2391

BRACKET

36

01010-51030

BOLT

37

01643-31032

WASHER

38

21K-973-2380

BRACKET

39

01010-51245

BOLT

40

01643-31232

WASHER

41

203-62-31660

PLUG

42

07002-03334

O-RING

43

150-49-11560

SPRING

44

205-60-51290

POPPET

Выбрано товаров: 48