Запчасти Komatsu PC150LC-3 МЕХ-М УПРАВЛ-Я (/) (ДОПОЛН. ГИДРАВЛ КОНТУР) (ДЛЯ WRIST УПРАВЛ-Е) ОПЦИОННЫЕ КОМПОНЕНТЫ

Схема запчастей Komatsu PC150LC-3 - МЕХ-М УПРАВЛ-Я (/) (ДОПОЛН. ГИДРАВЛ КОНТУР)       (ДЛЯ WRIST УПРАВЛ-Е) ОПЦИОННЫЕ КОМПОНЕНТЫ
FIT
1:1
100%

Артикул

Название

Примечание

Количество

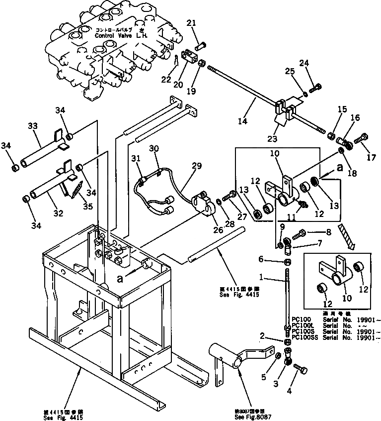
1

04248-31028

ROD

2

01582-11008

NUT

3

04250-41056

END,ROD

4

01010-51030

BOLT

5

01643-31032

WASHER

|5

04254-01032

SPACER

6

01508-21006

NUT,L.H. THREAD

7

04250-61056

END,ROD¤ L.H. THREAD

8

01010-51030

BOLT

9

01643-31032

WASHER

|9

04254-01032

SPACER

10

203-43-43832

LEVER

|10

203-43-43831

LEVER

|10

203-43-43830

LEVER

11

07020-00900

FITTING,GREASE

12

195-61-34130

BEARING

|12

06120-02016

BEARING

13

06122-02004

SEAL,BEARING

14

21K-43-21110

ROD

15

01508-21006

NUT,L.H. THREAD

16

04250-61056

END,ROD¤ L.H. THREAD

17

01010-51030

BOLT

18

01643-31032

WASHER

|18

04254-01032

SPACER

19

01582-11008

NUT

20

20T-43-22210

YOKE

21

04205-10822

PIN

22

04050-12012

PIN,COTTER

23

203-43-42542

PLATE

|23

203-43-42541

PLATE

24

01010-50825

BOLT

|24

01010-50830

BOLT

25

01602-20825

WASHER,SPRING

|25

01643-30823

WASHER

26

22W-06-15861

SWITCH,AUTO DECELERATION

|26

22W-06-15860

SWITCH,AUTO DECELERATION

27

01010-51035

BOLT

28

01643-31032

WASHER

29

203-973-4510

WIRE

30

08036-10814

CLIP

31

08036-01814

CLIP

32

203-43-43850

LEVER

33

203-43-43860

LEVER

34

203-43-31420

BUSHING

35

203-43-43230

SPRING

Выбрано товаров: 45