Запчасти Komatsu PC150LC-3 MACHINERY ОБСТАНОВКА (/)(№-8) ОСНОВНАЯ РАМА И КАБИНА

Схема запчастей Komatsu PC150LC-3 - MACHINERY ОБСТАНОВКА (/)(№-8) ОСНОВНАЯ РАМА И КАБИНА
FIT
1:1
100%

Артикул

Название

Примечание

Количество

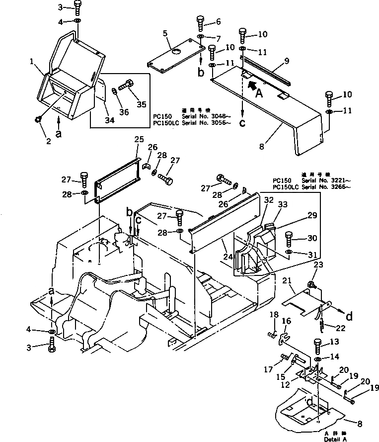
1

21K-54-26180

COVER

2

205-60-71220

LOCK ASS'Y

3

01010-51020

BOLT

4

01643-31032

WASHER

5

21K-54-26190

COVER

6

01010-51020

BOLT

7

01643-31032

WASHER

8

21K-54-26151

COVER

|8

21K-54-26150

COVER

9

09412-10009

SEAL

|9

09412-10092

SEAL

10

01010-51020

BOLT

11

01643-31032

WASHER

12

21K-54-26310

BRACKET

13

01010-51020

BOLT

14

01643-31032

WASHER

15

21K-54-26330

PLATE

16

21K-54-26340

LEVER

17

21K-54-26350

SPRING

18

21K-54-26360

SPRING

19

04205-11038

PIN

20

04050-13020

PIN,COTTER

21

21K-54-26292

COVER

|21

21K-54-26291

COVER

|21

21K-54-26290

COVER

|21

203-54-42310

BRACKET

22

21K-54-26380

SPRING

23

21K-54-26370

BOLT

24

21K-54-26160

COVER

25

21K-54-26170

COVER

26

203-54-42780

PLATE

27

01010-51020

BOLT

28

01643-31032

WASHER

29

21K-54-26390

BRACKET

30

01010-51220

BOLT

31

01643-31232

WASHER

32

21K-54-26420

SHEET

33

21K-54-26410

SHEET

34

21K-54-26430

COVER

35

01010-50816

BOLT

36

01602-20825

WASHER,SPRING

Выбрано товаров: 0