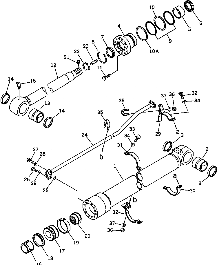
Запчасти Komatsu PC150LC-3 ЦИЛИНДР РУКОЯТИ УПРАВЛ-Е РАБОЧИМ ОБОРУДОВАНИЕМ

Схема запчастей Komatsu PC150LC-3 - ЦИЛИНДР РУКОЯТИ УПРАВЛ-Е РАБОЧИМ ОБОРУДОВАНИЕМ
FIT
1:1
100%

Артикул

Название

Примечание

Количество

|$0

21K-63-66501

CYLINDER ASS'Y \,ARM

|$1

21K-63-66500

CYLINDER ASS'Y \,ARM

1

21K-63-66540

CYLINDER

2

707-76-80010

BUSHING

3

07145-00080

SEAL,DUST

4

707-28-12370

HEAD,CYLINDER

5

07177-08030

BUSHING

6

707-51-80211

PACKING,ROD

7

195-63-92190

SEAL,DUST

8

07179-00103

RING,SNAP

9

07000-12115

O-RING

10

07146-02116

RING,BACK-UP

10A

707-35-91210

RING,BACK-UP

10A

07146-02116

RING,BACK-UP

11

01010-81655

BOLT

12

21K-63-66521

ROD

12

21K-63-66520

ROD

13

707-76-80010

BUSHING

14

07145-00080

SEAL,DUST

15

07020-00675

FITTING,GREASE

16

707-71-50890

PLUNGER

17

707-36-12361

PISTON

17

707-36-12360

PISTON

18

707-44-12080

RING,PISTON

19

07155-01230

RING,WEAR

20

707-68-10580

NUT

21

707-71-91240

SCREW

21

707-71-91250

SCREW

22

04260-00635

BALL

23

707-71-50231

PLUNGER

23

707-71-50220

PLUNGER

24

21K-63-66570

TUBE

25

07000-13030

O-RING

26

01010-50845

BOLT

27

01010-50855

BOLT

28

01602-20825

WASHER,SPRING

29

707-88-99280

BAND

30

707-88-99250

BAND

31

707-88-99240

BAND

32

707-88-99290

BAND

33

01010-51035

BOLT

34

01602-21030

WASHER,SPRING

35

07283-22738

CLIP

36

01599-01011

NUT

37

01643-31032

WASHER

Выбрано товаров: 45