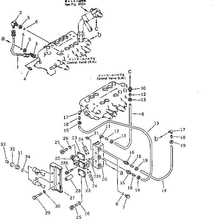
Запчасти Komatsu PC150LC-3 ГИДРОЛИНИЯ (КЛАПАН TO/FROM СОЛЕНОИДНЫЙ КЛАПАН) (W/O.АВТОМАТИЧ. DECEL.¤ПОВОРОТН. МЕХАНИЧ. ТОРМОЗ.)(№-9) УПРАВЛ-Е РАБОЧИМ ОБОРУДОВАНИЕМ

Схема запчастей Komatsu PC150LC-3 - ГИДРОЛИНИЯ (КЛАПАН TO/FROM СОЛЕНОИДНЫЙ КЛАПАН) (W/O.АВТОМАТИЧ. DECEL.¤ПОВОРОТН. МЕХАНИЧ. ТОРМОЗ.)(№-9) УПРАВЛ-Е РАБОЧИМ ОБОРУДОВАНИЕМ
FIT
1:1
100%

Артикул

Название

Примечание

Количество

1

203-62-44120

HOSE

2

07232-20210

ELBOW

3

07231-20210

ELBOW

4

07042-00108

PLUG

5

07239-11408

NUT

6

07002-01423

O-RING

7

07040-11409

PLUG

8

07002-01423

O-RING

9

07822-00606

TUBE

10

07836-00613

CONNECTOR

11

07834-00613

ELBOW

12

07831-00612

SLEEVE

13

07832-00614

NUT

14

07822-00404

TUBE

15

07822-00409

TUBE

16

07836-00410

CONNECTOR

17

07834-00410

ELBOW

18

07831-00411

SLEEVE

19

07832-00410

NUT

20

203-62-41812

BLOCK

21

07042-10108

PLUG

22

21K-60-12301

SOLENOID VALVE ASS'Y

22A

07000-11009

O-RING

22B

01252-40545

BOLT

23

203-62-42960

COVER

24

07000-11009

O-RING

25

01252-40520

BOLT

26

01601-20513

WASHER,SPRING

27

203-62-44490

COVER

28

203-62-44510

SPACER

29

01011-51235

BOLT

30

01643-31232

WASHER

31

22W-07-14650

CONNECTOR

32

22W-07-14700

GROMMET

33

22W-07-11960

PLUG

34

22W-07-11910

O-RING

Выбрано товаров: 36