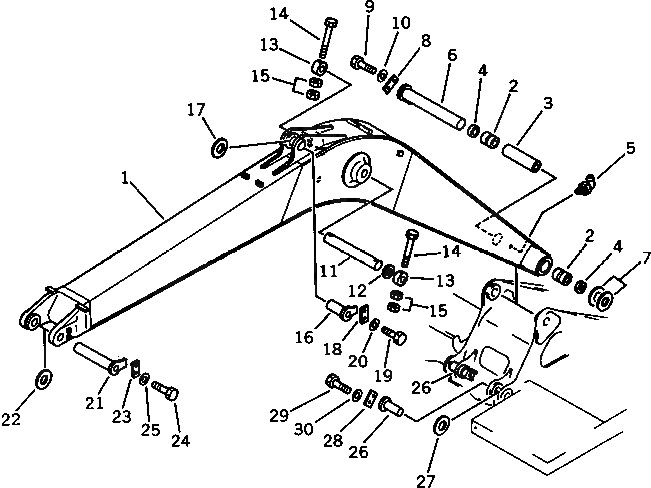
Запчасти Komatsu PC150LC-3 СТРЕЛА РАБОЧЕЕ ОБОРУДОВАНИЕ

Схема запчастей Komatsu PC150LC-3 - СТРЕЛА РАБОЧЕЕ ОБОРУДОВАНИЕ
FIT
1:1
100%

Артикул

Название

Примечание

Количество

|$0

21K-70-00012

BOOM ASS'Y

|$1

21K-70-00011

BOOM ASS'Y

1

BOOM

1

BOOM

2

20G-70-11380

BUSHING

3

21K-70-11380

SPACER

4

07145-00080

SEAL,DUST

5

07020-00900

FITTING,GREASE

6

21K-70-21160

PIN

7

205-70-51450

SPACER, 1.0MM

8

205-70-71310

PLATE

9

01010-51235

BOLT

10

01643-31232

WASHER

11

21K-70-21180

PIN

12

203-70-24170

SPACER, 1.0MM

13

21K-70-11410

PLATE

14

01019-11640

BOLT

15

01580-11613

NUT

16

21K-70-21170

PIN

17

205-70-51450

SPACER, 1.0MM

18

205-70-66580

PLATE

19

01010-51230

BOLT

20

01643-31232

WASHER

21

21K-70-21190

PIN

22

205-70-51450

SPACER, 1.0MM

23

205-70-71310

PLATE

24

01010-51235

BOLT

25

01643-31232

WASHER

26

21K-70-11170

PIN

27

203-70-11210

SPACER, 1.0MM

28

205-70-66580

PLATE

29

01010-51230

BOLT

30

01643-31232

WASHER

Выбрано товаров: 33