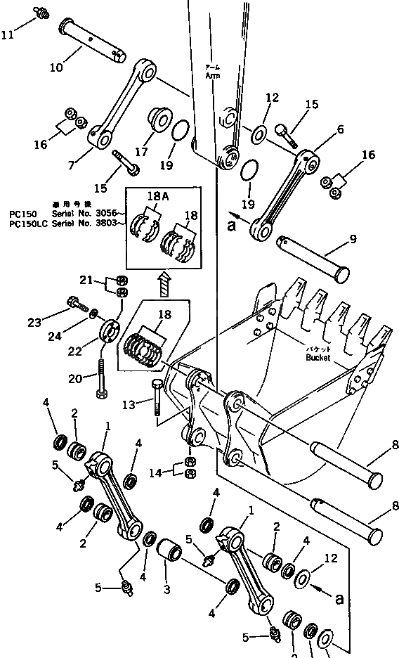
Запчасти Komatsu PC150LC-3 СОЕДИНЕНИЕ КОВША РАБОЧЕЕ ОБОРУДОВАНИЕ

Схема запчастей Komatsu PC150LC-3 - СОЕДИНЕНИЕ КОВША РАБОЧЕЕ ОБОРУДОВАНИЕ
FIT
1:1
100%

Артикул

Название

Примечание

Количество

|$0

21K-70-00041

LINK ASS'Y

1

LINK

2

21K-70-13150

BUSHING

3

21K-70-23130

SPACER

4

21K-70-12180

SEAL,DUST

5

07020-00000

FITTING,GREASE

6

21K-70-23210

LINK

7

21K-70-23110

LINK

8

21K-70-23140

PIN

9

21K-70-23190

PIN

10

21K-70-23220

PIN

11

07020-00000

FITTING,GREASE

12

203-70-24170

SPACER, 1.0MM

13

01011-51660

BOLT

14

01580-11613

NUT

15

01019-11640

BOLT

16

01580-11613

NUT

17

21K-70-23150

SPACER

18

21K-70-23180

SPACER, 0.5MM

18

21K-70-23180

SPACER, 0.5MM

18A

21K-70-23230

SPACER, 1.0MM

19

21K-70-23160

O-RING

20

01011-51690

BOLT

21

01580-11613

NUT

22

21K-70-23170

PLATE

23

01010-51665

BOLT

24

01643-31645

WASHER

Выбрано товаров: 27