Запчасти Komatsu PC150LC-3 КОВШ¤ .M¤ 9MM (ГОРИЗОНТАЛЬН. ПАЛЕЦ) РАБОЧЕЕ ОБОРУДОВАНИЕ

Схема запчастей Komatsu PC150LC-3 - КОВШ¤ .M¤ 9MM (ГОРИЗОНТАЛЬН. ПАЛЕЦ) РАБОЧЕЕ ОБОРУДОВАНИЕ
FIT
1:1
100%

Артикул

Название

Примечание

Количество

|$0

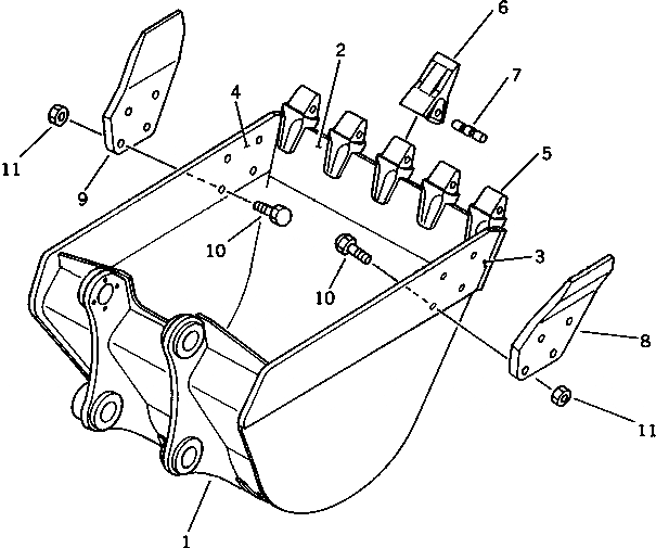
21K-70-00160

BUCKET ASS'Y

1

21K-70-24150

BUCKET

2

21K-70-24121

PLATE (WELDED)

3

21K-70-24141

PLATE,L.H. (WELDED)

4

21K-70-24131

PLATE,R.H. (WELDED)

5

205-939-7120

ADAPTER (WELDED)

6

205-70-19570

TOOTH

7

09244-02496

PIN

8

21K-70-14180

CUTTER,L.H.

9

21K-70-14190

CUTTER,R.H.

10

208-32-11231

BOLT

11

01803-02228

NUT

Выбрано товаров: 12