Запчасти Komatsu PC150LC-3 ВОЗДУХООЧИСТИТЕЛЬ СОЕДИН-Е(№77-) КОМПОНЕНТЫ ДВИГАТЕЛЯ И ЭЛЕКТРИКА

Схема запчастей Komatsu PC150LC-3 - ВОЗДУХООЧИСТИТЕЛЬ СОЕДИН-Е(№77-) КОМПОНЕНТЫ ДВИГАТЕЛЯ И ЭЛЕКТРИКА
FIT
1:1
100%

Артикул

Название

Примечание

Количество

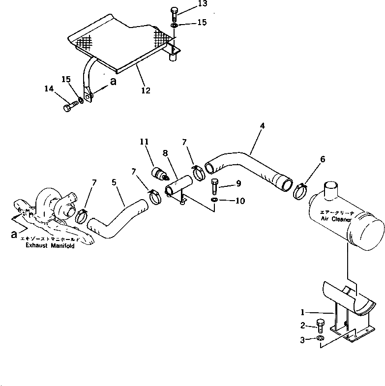
1

20G-01-12112

BRACKET

2

01010-51225

BOLT

3

01643-31232

WASHER

4

21K-01-21220

HOSE

5

21K-01-21230

HOSE

6

07281-01029

CLAMP

7

07281-00809

CLAMP

8

21K-01-21240

BRACKET

9

01010-51055

BOLT

10

01643-31032

WASHER

11

08670-00635

INDICATOR,DUST

12

20D-01-41162

STEP

13

01010-51070

BOLT

14

01010-51040

BOLT

15

01643-31032

WASHER

Выбрано товаров: 15