Запчасти Komatsu PC150LC-3 РЫЧАГ УПРАВЛЕНИЯ РАБОЧИМ ОБОРУДОВАНИЕМ (ДЛЯ УДЛИНН. РЫЧАГ УПРАВЛ-Е) ПОВОРОТН. И СИСТЕМА УПРАВЛЕНИЯ

Схема запчастей Komatsu PC150LC-3 - РЫЧАГ УПРАВЛЕНИЯ РАБОЧИМ ОБОРУДОВАНИЕМ (ДЛЯ УДЛИНН. РЫЧАГ УПРАВЛ-Е) ПОВОРОТН. И СИСТЕМА УПРАВЛЕНИЯ
FIT
1:1
100%

Артикул

Название

Примечание

Количество

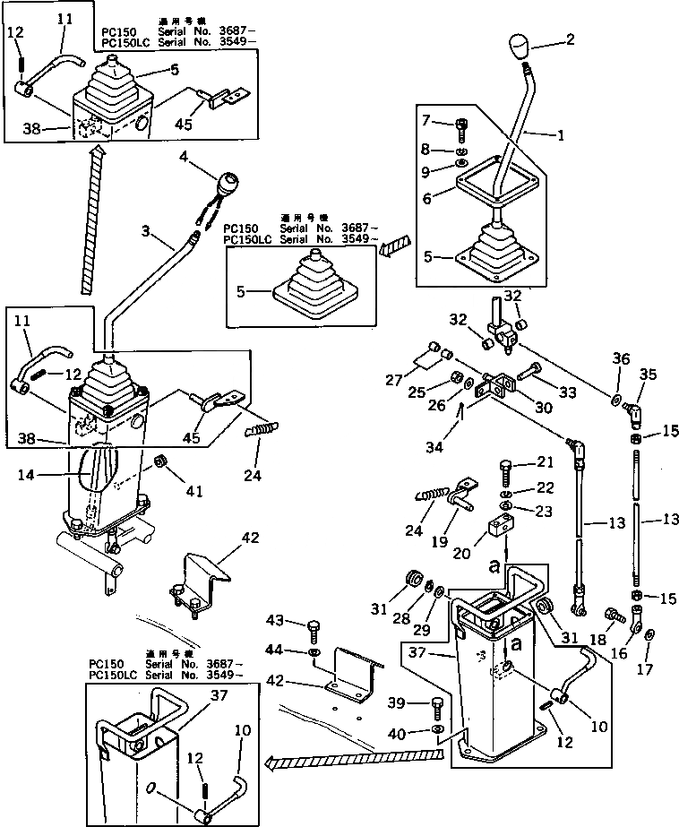
1

203-43-42132

LEVER,L.H.

2

20D-43-11370

KNOB

3

203-43-42142

LEVER,R.H.

4

203-06-42131

SWITCH,HORN

4

203-06-42130

SWITCH

4

203-06-21140

SWITCH

5

20X-43-21730

BOOT

5

203-43-42780

BELLOWS

6

205-43-62260

COVER

7

205-06-62170

BOLT

8

205-06-62180

WASHER,SPRING

9

205-06-62190

WASHER

10

203-43-43590

LEVER,L.H.

10

205-43-63820

LEVER,L.H.

11

203-43-43620

LEVER,R.H.

11

205-43-63830

LEVER,R.H.

12

04025-00520

PIN,SPRING

13

04245-41031

ROD

14

04245-41029

ROD

15

01582-11008

NUT

16

04250-81056

END,ROD

17

01643-31032

WASHER

17

04254-41032

SPACER

18

01010-51030

BOLT

19

205-43-62320

LEVER

20

205-43-62330

BLOCK

21

01010-50840

BOLT

22

01602-20825

WASHER,SPRING

23

01643-30823

WASHER

24

203-43-21370

SPRING

25

01582-11008

NUT

26

01643-31032

WASHER

27

203-43-31420

BUSHING

28

04064-01410

RING,SNAP

29

01641-21423

WASHER

30

205-43-52140

YOKE

31

09415-02512

CAP

32

203-43-31420

BUSHING

33

04205-01450

PIN

34

04050-14022

PIN,COTTER

35

207-43-11170

JOINT

36

01643-31032

WASHER

37

20X-43-21710

STAND,L.H.

37

203-43-42791

STAND,L.H.

38

20X-43-21720

STAND,R.H.

38

203-43-42811

STAND,R.H.

39

01010-51230

BOLT

40

01643-31232

WASHER

41

08037-01008

GROMMET

42

203-43-42573

BRACKET

42

203-43-42572

BRACKET

43

01010-51030

BOLT

44

01643-31032

WASHER

45

203-43-43610

LEVER

45

205-43-62320

LEVER

Выбрано товаров: 0