Качественные детали и логистика
Оригинальные и аналоговые запчасти с доставкой по России, Казахстану и Беларуси
©2022 PartSell ООО "Система" ИНН 2463123282 ОГРН 1212400004838
Центральный офис: г. Красноярск, Академика Киренского, д.87, пом.4
Телефон: 8 (800) 777-65-74 Email: zakaz@partsell.ru
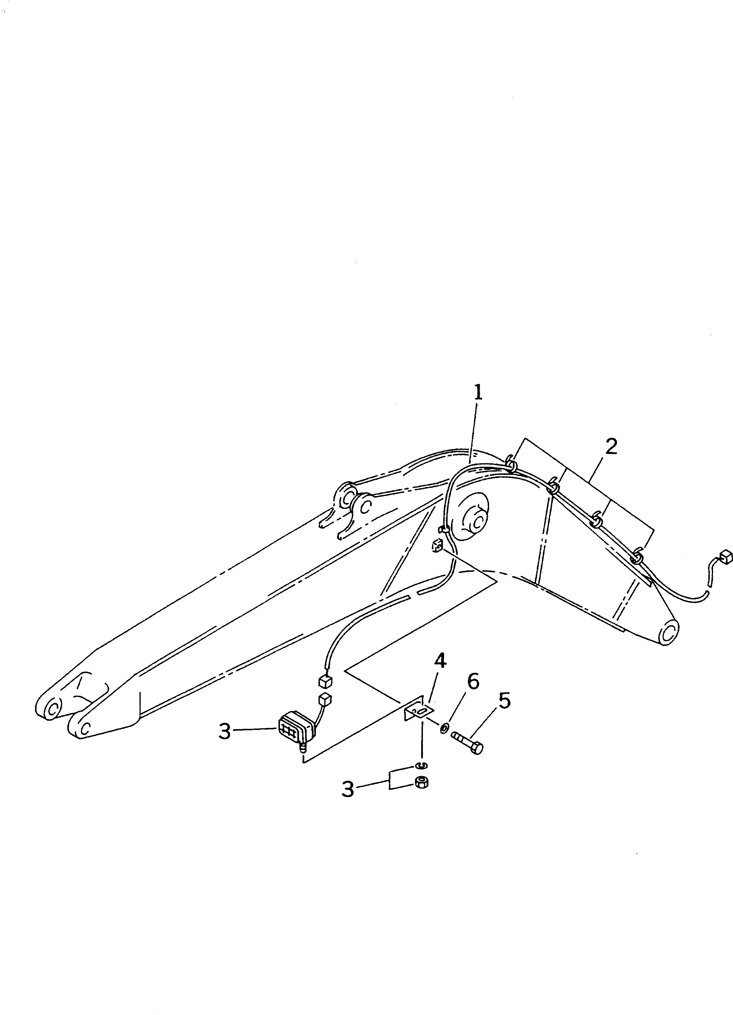
РАБОЧ. ОСВЕЩЕНИЕ (ДЛЯ СТРЕЛЫ) (ЛЕВ.)
№
Артикул
Название
Примечание
Количество
1
203-06-K1270
WIRING
2
08034-00414
BAND
3
205-06-K1223
WORK LAMP ASS'Y
4
203-06-56410
BRACKET
5
01010-81425
BOLT
6
01643-31445
WASHER
Выбрано товаров: 0