Запчасти Komatsu PC150NHD-5K ГУСЕНИЧНАЯ РАМА(№K-K) ХОД И ХОДОВАЯ

Схема запчастей Komatsu PC150NHD-5K - ГУСЕНИЧНАЯ РАМА(№K-K) ХОД И ХОДОВАЯ
FIT
1:1
100%

Артикул

Название

Примечание

Количество

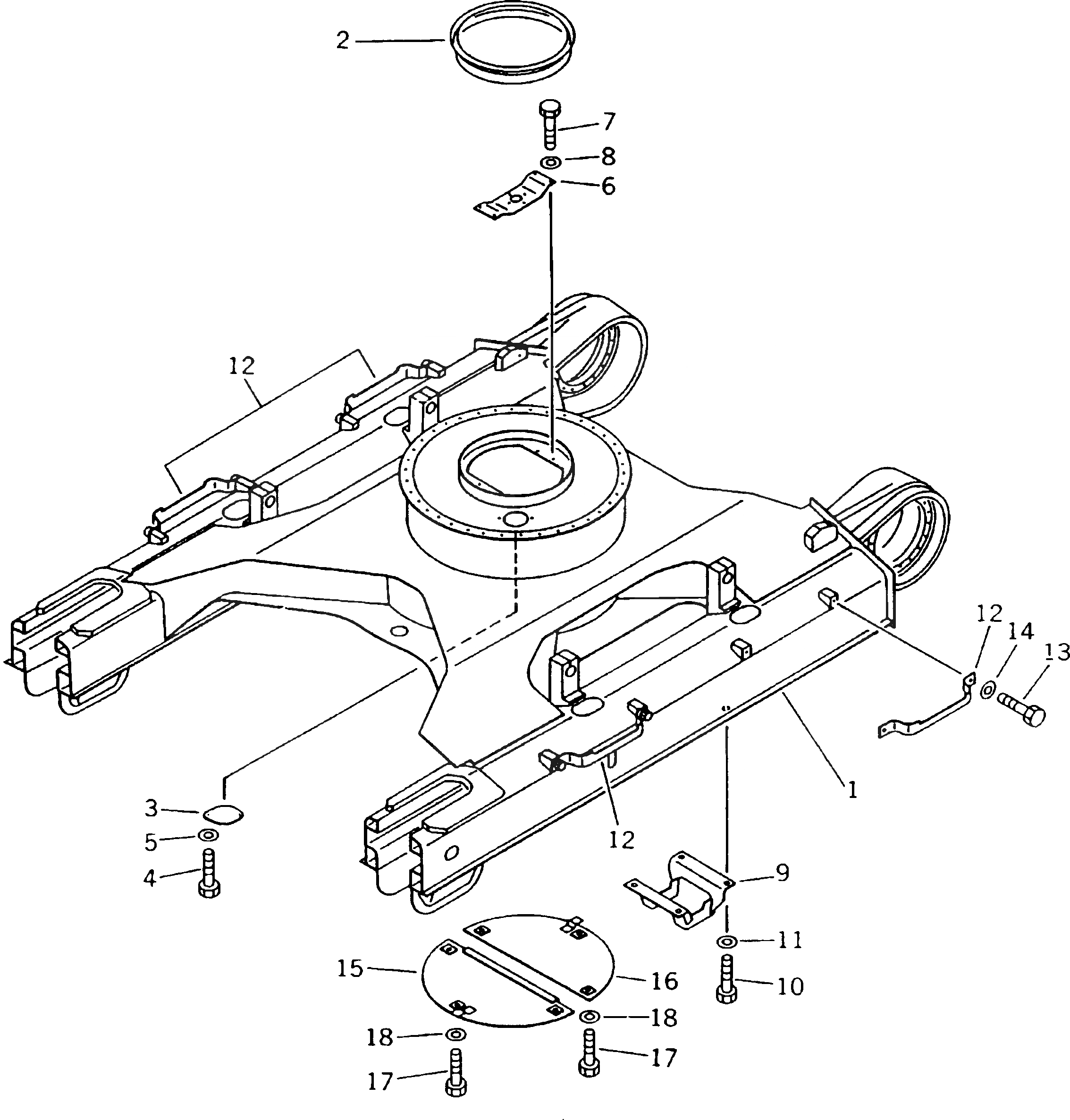
1

203-30-K2580

FRAME,TRACK (PC150HD)

|1

203-30-K2590

FRAME,TRACK (PC150NHD)

2

203-30-41152

SEAL

3

205-30-67650

COVER

4

01010-51225

BOLT

5

01643-31232

WASHER

6

21P-30-21230

BRACKET

7

01010-51235

BOLT

8

01643-31232

WASHER

9

20Y-30-11312

GUARD

10

01010-52050

BOLT

11

01643-32060

WASHER

12

203-30-59131

STEP

|12

203-30-59150

STEP,(FOR SCANDINAVIA)

13

01010-51640

BOLT

14

01643-31645

WASHER

15

20Y-973-2220

COVER

16

20Y-973-2230

COVER

17

01010-51235

BOLT

18

01643-31232

WASHER

Выбрано товаров: 20