Запчасти Komatsu PC158USLC-2 ОСНОВН. КОНСТРУКЦИЯ (ОСНОВ.) (/)(№8-) КАБИНА ОПЕРАТОРА И СИСТЕМА УПРАВЛЕНИЯ

Схема запчастей Komatsu PC158USLC-2 - ОСНОВН. КОНСТРУКЦИЯ (ОСНОВ.) (/)(№8-) КАБИНА ОПЕРАТОРА И СИСТЕМА УПРАВЛЕНИЯ
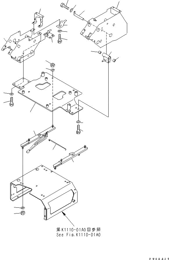
1
2
3
4
4
5
5
6
7
8
9
10
11
12
13
14
15
16
17
18
19
20
21
22
22
FIT
1:1
100%

Артикул

Название

Примечание

Количество

1

22B-54-13430

BRACKET

2

205-57-63520

ADJUSTER

3

22U-54-13560

ADJUSTER

4

01580-11210

NUT

5

01643-31232

WASHER

6

22U-54-13570

BAR

7

201-54-75121

BRACKET

8

22B-54-13190

PLATE

9

01010-81025

BOLT

10

01643-31032

WASHER

11

201-06-73311

BRACKET

12

08053-00910

CLIP

13

01010-80816

BOLT

14

01643-30823

WASHER

15

22B-54-13540

BRACKET

16

22B-54-13371

BOSS

17

01010-81030

BOLT

18

01643-31032

WASHER

19

20U-43-21121

SHAFT

20

01010-80616

BOLT

21

01643-30623

WASHER

22

195-61-34120

BEARING

Выбрано товаров: 22