Запчасти Komatsu PC15FR-1 РАМА COVER ПОВОРОТН.¤ КОНЕЧНАЯ ПЕРЕДАЧА И ХОДОВАЯ

Схема запчастей Komatsu PC15FR-1 - РАМА COVER ПОВОРОТН.¤ КОНЕЧНАЯ ПЕРЕДАЧА И ХОДОВАЯ
FIT
1:1
100%

Артикул

Название

Примечание

Количество

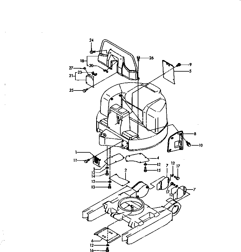
1

YM17218361100K

COVER,LAMP

2

YM17218361140K

COVER,CV

3

YM17218361150K

COVER,RESERVOIR

4

YM17218361160K

COVER,SILENCER

5

YM17218361170K

COVER,STAND

6

YM17218361180K

COVER,UNDER

7

YM17218361190K

COVER,TRAVEL

8

YM172183-61200

COVER,RESERVOIR

9

YM172519-63240

BOLT

10

YM172519-63240

BOLT

11

YM172519-63240

BOLT

12

YM22217-100000

WASHER

13

YM26116-100162

BOLT

14

YM26116-100162

BOLT

15

YM26116-100162

BOLT

16

YM26116-100202

BOLT

17

YM26116-100202

BOLT

18

YM17218361370K

COVER ASS'Y,FRONT

20

YM172183-61360

RUBBER,EDGE

21

YM17218361380K

COVER ASS'Y

23

YM172183-61350

RUBBER,EDGE

24

YM172519-63240

BOLT

25

YM172519-63240

BOLT

26

YM26013-120302

BOLT

27

YM933168-56000

GROMMET

Выбрано товаров: 25