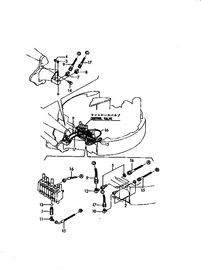
Запчасти Komatsu PC15FR-1 ГИДРОЛИНИЯ (КЛАПАН - КОРПУС ПОВОРОТА СТРЕЛЫ) (ДЛЯ МЕХ-М ОТБОРА МОЩН-ТИ) УПРАВЛ-Е РАБОЧИМ ОБОРУДОВАНИЕМ

Схема запчастей Komatsu PC15FR-1 - ГИДРОЛИНИЯ (КЛАПАН - КОРПУС ПОВОРОТА СТРЕЛЫ) (ДЛЯ МЕХ-М ОТБОРА МОЩН-ТИ) УПРАВЛ-Е РАБОЧИМ ОБОРУДОВАНИЕМ
FIT
1:1
100%

Артикул

Название

Примечание

Количество

1

YM172183-76170

CONNECTOR

2

YM172145-76180

JOINT

3

YM23871-030000

PLUG,SCREW

4

YM23871-040000

PLUG,SCREW

5

YM172142-76250

JOINT

6

YM172183-76300

JOINT,3RD

7

YM23394-040000

JOINT

8

YM23394-030000

JOINT

9

YM172183-79120

HOSE

10

YM23393-030000

JOINT

11

YM23393-030000

JOINT

12

YM23393-040000

JOINT

13

YM24315-000140

O-RING

14

YM26013-100252

BOLT

15

YM172183-79050

HOSE

16

YM172183-79061

HOSE

17

YM172183-79110

HOSE

Выбрано товаров: 17