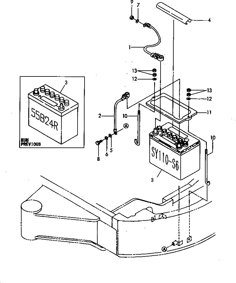
Запчасти Komatsu PC15FR-1 АККУМУЛЯТОР КОМПОНЕНТЫ ДВИГАТЕЛЯ И ЭЛЕКТРИКА

Схема запчастей Komatsu PC15FR-1 - АККУМУЛЯТОР КОМПОНЕНТЫ ДВИГАТЕЛЯ И ЭЛЕКТРИКА
FIT
1:1
100%

Артикул

Название

Примечание

Количество

1

YM172183-16100

TERMINAL

2

YM172149-16110

TERMINAL

3

YM172175-16110

BATTERY

|3

YM172183-16110

BATTERY

4

YM194440-51550

COVER,BATTERY

5

YM22137-080000

WASHER

6

YM22217-080000

WASHER

7

YM22217-080000

WASHER

8

YM26116-080162

BOLT

9

YM26716-080002

NUT

10

YM172631-16350

ROD

11

YM194940-64750

CLAMP,BATTERY

12

YM22157-060000

WASHER

13

YM26716-060002

NUT

Выбрано товаров: 14